相关试卷
-
1、诗词与成语是我国五千年灿烂文化的瑰宝,其中很多诗句与成语中含有丰富的物理知识,下列说法正确的是( )A、“一代天骄,成吉思汗,只识弯弓射大雕”,“弯弓”的弓发生的是弹性形变 B、“以卵击石”中“卵”对“石”的作用力小于“石”对“卵”的作用力 C、“朝辞白帝彩云间,千里江陵一日还”中可估算出船行驶的平均速度 D、“坐地日行八万里,巡天遥看一千河”,其中“八万里”指的是位移
-
2、独轮小推车是古代运输粮食等物品的重要工具,如图所示,车轮外半径为R,车轮沿直线无滑动地滚动。当轮上最高处的一个点,第一次运动到与地面接触时,该点位移大小为( )
A、πR B、2R C、2πR D、 -
3、深中通道是连接深圳市和中山市的特大桥,于2024年6月30日建成开通,全长约24公里,限速100km/h。一游客开汽车经过深中通道用时约20分钟。下列说法正确的是( )
A、汽车仪表台上的速度计测量的是瞬时速度,里程表测的是位移 B、100km/h是指汽车行驶的瞬时速度大小 C、该游客的平均速度约为72km/h D、该游客全程的位移为24km -
4、如图所示,足够长的平行金属导轨MN、PQ平行放置,间距为L=3m,与水平面成θ=53°,导轨与固定电阻R1和R2相连,且R1=R2=2Ω。R1支路串联开关S,原来S闭合,匀强磁场垂直导轨平面斜向上。有一质量为m=1kg的导体棒ab与导轨垂直放置,接触面粗糙且始终接触良好,导体棒的电阻R也为2Ω.现让导体棒从静止释放沿导轨下滑,当导体棒运动达到稳定状态时速率为v=2m/s,此时整个电路消耗的电功率为12W。已知当地的重力加速度为g,导轨电阻不计。求:
(1)、在上述稳定状态时,导体棒ab中的电流I和磁感应强度B的大小;(2)、如果导体棒从静止释放沿导轨下滑x=1m距离后运动达到稳定状态,在这一过程中回路产生的焦耳热;(3)、断开开关S后,导体棒沿导轨下滑一段距离d后,通过导体棒ab的电量为q=3C,求这段距离d。 -
5、如图所示,一根长度为L = 120 cm、横截面积为S、两端封闭、粗细均匀且导热良好的玻璃管竖直放置。在玻璃管顶部开一小孔。堵住小孔,管内有一段高h = 30 cm的水银柱,上方为真空,下方则封闭着长为a = 60 cm的空气柱。已知玻璃管所处地理位置的大气压强p0 = 60 cmHg,热力学温度T1 = 300 K,空气可视为理想气体。
(1)、若只缓慢加热玻璃管,当水银刚到达玻璃管顶部时,求封闭气体的热力学温度T2;(2)、若松开孔,空气从外界进入,最终稳定时,水银柱下降距离Δh(整个过程外界温度为T1保持不变)。 -
6、某同学利用如图所示的装置“探究动量定理”。在水平气垫导轨上安装了两光电门1、2,滑块上固定一遮光条,滑块用细线绕过定滑轮和轻质动滑轮,与弹簧测力计相连。实验时测出遮光条的宽度 , 滑块和遮光条的总质量 , 相同的未知质量钩码若干,取重力加速度。多次改变钩码的个数,实验得到如下实验数据表格,回答以下问题。

实验次数
钩码个数
光电门1遮光时间
光电门2遮光时间
经两光电门间的时间
弹簧测力计示数
1
1
0.120
0.060
1.460
0.099
2
2
0.080
0.040
1.001
0.200
3
3
0.070
0.036
0.203
0.280
(1)、滑块通过光电门1时的速度大小(选用、、、表示);(2)、第一次实验时,滑块从光电门1到光电门2的过程中所受合力的冲量大小(保留两位小数);(3)、第一次实验中,滑块从光电门1到光电门2的过程中动量的变化量大小(保留两位小数);(4)、本实验中滑块动量的变化和此段时间内所受合力冲量的相对误差。如果δ值在8%以内,可以得到结论:滑块动量的变化量等于其所受合力的冲量。根据第1组数据,计算出的相对误差%(保留一位有效数字);(5)、当挂上两个钩码时,弹簧测力计示数为 , 由此可计算出每个钩码质量(保留两位小数)。 -
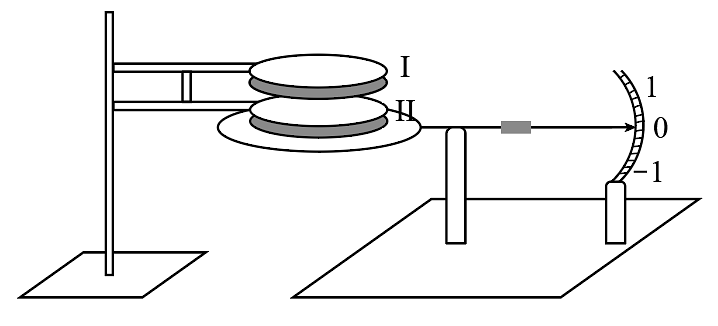
7、如图,一玻璃瓶的瓶塞中竖直插有一根两端开口的细长玻璃管,管中一光滑小球将瓶中气体密封,且小球处于静止状态,装置的密封性、绝热性良好。对小球施加向下的力使其偏离平衡位置,在时由静止释放,小球的运动可视为简谐运动,周期为T。规定竖直向上为正方向,则小球在时刻( )
A、位移最大,方向为正 B、速度最大,方向为正 C、加速度最大,方向为负 D、受到的回复力大小为零 -
8、在如图所示电路中,电源电动势为 , 内阻为为电阻箱,为定值电阻,两平行金属板水平放置。闭合开关 , 待电路稳定后,一带电油滴从金属板左侧中点处水平射入板间,油滴恰能沿水平直线通过,不考虑空气阻力,运动过程中油滴电荷量始终保持不变。下列说法中正确的是( )
A、油滴一定带负电 B、仅将阻值调为零时,油滴仍可沿水平直线通过 C、仅将板向下平移少许,油滴一定向上运动 D、仅断开开关 , 油滴仍恰能沿水平直线通过 -
9、两种均匀弹性绳Ⅰ、Ⅱ在O点相接,直角坐标系的轴为其分界线,在坐标原点处的振动同时在Ⅰ和Ⅱ中传播,某时刻的波形图如图所示。其中是此时刻绳Ⅰ中波传到的最远点,绳Ⅱ中形成的波未画完。下列关于两列波的判断,正确的是( )
A、波源的起振方向沿轴正方向 B、此时刻波向左传到的最远位置是 C、、两列波的传播速度之比为 D、此时刻后,质点比先回到平衡位置处 -
10、据2023年8月22日《人民日报》消息,日本政府宣布将从24日开始将福岛核电站核污染水排入海洋。核污水中含有多种放射性成分,其中有一种难以被清除的同位素氚可能会引起基因突变,氚亦称超重氢,是氢的同位素之一,有放射性,会发生β衰变,其半衰期为年。下列有关氚的说法正确的是( )
A、如果金属罐中密封有1kg氚,年后金属罐的质量将减少 B、氚发生衰变时产生的粒子能够穿透10cm厚的钢板 C、用中子轰击锂能产生氚,其核反应方程式为 D、氚的化学性质与氢完全不同 -
11、如图为某广告宣传的“反重力时光沙漏”,据其介绍,一旦打开灯光电源,会看到水滴在空中静止。在产品使用者的评价中有下列信息:“水滴真的不动了,太神奇了!”“灯光闪得我受不了!”……根据以上现象及提供的信息分析,下列说法中正确的是( )
A、违反了能量守恒定律,此现象不可能属实 B、违反了万有引力定律,此现象不可能属实 C、这是由灯光频闪频率造成的,此现象属实 D、这是由眼睛眨眼频率造成的,此现象属实 -
12、水平面上倾角θ的固定斜面(θ<45°),高度为h,斜面上有质量m的物体A,恰能静止在斜面的中点。现给物体A施以一水平恒力F使物体沿着斜面向上做匀加速直线运动,若最大静摩擦力等于滑动摩擦力,重力加速度为g;
(1)、求斜面的动摩擦因数;(2)、求物体运动到斜面顶端时的速度大小。 -
13、如图所示,能承受最大拉力均为100N的三段轻绳AO、BO、CO系于O点,质量为m=1kg的物体系于C端,AO与水平顶板间的夹角为θ=30°,BO水平,A、B点固定,物体静止不动,然后在物体上作用一个竖直向下、大小从零逐渐增大的外力。g取10m/s2。(结果可以用根号表示)求:
(1)、外力作用前,AO绳拉力TA大小?BO绳拉力TB大小?(2)、为保证所有绳都不断,所加外力的最大值? -
14、在“探究平抛运动的特点”实验中


(1)、某组同学用图1的装置进行探究,下列说法正确的是A、需改变小球距地面的高度,多次重复实验 B、需改变小锤击打的力度,多次重复实验 C、只能探究平抛运动水平分运动的特点 D、能同时探究平抛运动水平、竖直分运动的特点(2)、接着该组同学用图2装置进行实验,下列说法正确的是A、斜槽轨道M必须光滑且其末端水平 B、上下调节挡板N时必须每次等间距移动 C、小钢球从斜槽M上同一位置静止滚下 D、为描绘小钢球的运动轨迹,描绘的点可以用折线相连(3)、最后他们用图3装置进行实验,竖直挡板上附有复写纸和白纸,可以记下钢球撞击挡板时的点迹。实验时竖直挡板初始位置紧靠斜槽末端,钢球从斜槽上P点静止滚下,撞击挡板留下点迹O,将挡板水平向右移动距离x,重复实验,挡板上留下点迹A。点迹A到点迹O的距离为y,测得钢球直径为d,则钢球平抛初速度v0=(请用x、y、d、g表示)。 -
15、为了探究小车加速度与外力的关系,某同学设计了如图甲所示的实验装置,长木板水平放置在实验台上,细绳一端与力传感器相连,另一端跨过轻质的动滑轮和定滑轮与砂桶相连,小车一端连接纸带,纸带穿过打点计时器,打点计时器所接交流电源的频率为50Hz,纸带每打5个点选一个计数点,力传感器可测出轻绳中的拉力大小,小车的质量为M,砂和砂桶的总质量为m,已知重力加速度为g。滑轮重力不计。
(1)、关于该实验的操作,下列说法正确的是( )A、需要调整长木板左端定滑轮的高度,使细绳与长木板平行 B、本实验要保证小车的质量M要远大于沙和砂桶的总质量m C、实验时打点计时器尽量靠近小车,先释放小车,再接通电源 D、为减小实验误差,将长木板右端垫高适当角度,以补偿长木板对小车的摩擦力(2)、该同学进行正确实验操作时某次得到的纸带如图乙所示,通过纸带求出小车运动的加速度是m/s2(计算结果保留两位有效数字)
(3)、保持小车的质量不变,记录多次实验的数据,以力传感器的示数F为横坐标,以加速度a为纵坐标,通过实验数据做出的图像是一条直线,如图丙所示,图线的斜率为k,则小车的质量为M= -
16、跳台滑雪是一种雪上竞技类的运动项目,现某运动员从跳台a处沿水平方向飞出,在斜坡b处着陆,ab近似看成直线,如图所示。测得ab间竖直的高度差h=20m,运动员着陆时的速度与水平方向成β=53°,已知重力加速度g=10m/s2 , sin53°=0.8,cos53°=0.6,运动员在空中运动的空气阻力不计,下列说法正确的是( )
A、ab之间的距离为25m B、滑雪运动员以25m/s的速率在b点着陆 C、减小a速度,人着陆的速度与水平方向夹角小于53° D、增大a点速度仍落回斜坡,人总是在飞行总时间的一半时离斜面最远 -
17、如图所示,光滑水平面上放置着质量分别为3m、2m、m的三个物块A、B、C,其中B放在C上,A与B间用水平弹簧相连。现用一水平拉力拉A,待弹簧稳定后,B与C恰好不相对滑动。重力加速度大小为g,B、C间的动摩擦因数为μ,假设最大静摩擦力与滑动摩擦力大小相等,下列说法正确的是( )
A、水平拉力为12μmg B、弹簧的拉力为2μmg C、撤掉拉力F瞬间,A的加速度为 D、撤掉拉力F瞬间,B的加速度为2μg -
18、塔吊是现代工地必不可少的建筑设备,某次施工,吊车司机将100kg的物体从地面开始竖直提升,之后其运动v-t图像如图所示,下列说法正确的是( )
A、前10s钢索的拉力恒为1010N B、30-36s内物体处于超重状态 C、30-36s内钢索的拉力小于36-46s的拉力 D、36-46s内物体受到的合力小于0-10s内的合力 -
19、如图,一个运动员在一段时间内通过轻绳拖动轮胎在水平地面做匀加速直线运动,已知轮胎与地面的动摩擦因数μ,轻绳与水平方向之间的夹角为θ(),轮胎的质量为m,重力加速度为g,下列说法正确的是( )
A、轮胎一定受到四个力,四个力的合力产生加速度 B、调整轻绳的方向,轮胎受到的摩擦力可能为 C、调整轻绳的方向,轮胎的加速度可能为 D、轻绳的拉力方向与水平方向夹角越大,所需拉力越大 -
20、一根细线系着质量为m的小球,细线上端固定在横梁上,给小球施加外力F,小球平衡后,细线跟竖直方向的夹角为θ,现改变外力F的方向,但仍然要使小球在原位置保持平衡,重力加速度为g,下列说法正确的是( )
A、外力F和细线拉力的合力大小一定等于mg B、外力F与细线拉力的合力方向可能水平向右 C、当外力F水平向右时,F最小为mgtanθ D、因为细线长度不变,所以改变外力F的方向时,细线拉力不变