相关试卷
-
1、中国空间站的推进器是将氙气(Xe)转化为氙离子以产生推力,如图1,元素周期表中氙元素的信息如图2。下列说法正确的是
A、氙气由氙原子构成 B、氙原子的最外层电子数为54 C、氙元素属于金属元素 D、氙原子经过离子加速器,质子数改变 -
2、下列化学用语表述正确的是A、60个碳原子: B、镁离子: C、氧化铁: D、中氢元素的化合价:
-
3、阅读下面科普短文回答问题。
“国防金属——镁”
镁是一种年轻的金属,1808 年英国化学家戴维用电解法最早制得少量的镁。镁呈银白色,熔点为649℃,质轻、密度为。镁的化学性质活泼,能与许多物质发生化学反应,镁在氧气中燃烧生成氧化镁,镁在氮气中燃烧生成氮化镁,镁在二氧化碳中燃烧生成碳和氧化镁。工业上主要利用电解熔融的氯化镁制取金属镁,同时生成氯气。烟花和照明弹里都含有镁粉,是利用了镁在空气中燃烧能发出耀眼的白光;金属镁与战争有着密切的关系,除照明弹里有镁粉外,燃烧弹里也装有镁粉,每架飞机的外表,是耗费近半吨镁的铝镁合金制成的。世界上镁产量最高的年份,往往就是发生战争的年份,因此镁产量就成了战争的晴雨表和指示剂,人们常把镁称为“国防金属”。
(1)、上述材料中描述镁的物理性质有(答一点即可)。(2)、写出工业上制取镁的化学方程式。(3)、在测定空气中氧气含量的实验中,(填“能”或“不能”)用镁代替红磷。(4)、若镁粉着火了,能用二氧化碳灭火吗?若不能请写出原因:。 -
4、阅读下列材料,回答有关问题:
西气东输(一线)工程是我国自行设计、建设的第一条世界级天然气管道工程。塔里木油田是西气东输供气主力气源地,塔里木油田形成多级气举阀连续油管气举排水技术,实现了“水中捞气”,为西气东输供气增添“底气”。
(1)、西气东输工程中“气”指天然气,其主要成分是(填名称),天然气的主要成分完全燃烧的化学方程式是。(2)、天然气是化石燃料的一种,是(填“可再生”或“不可再生”)能源。(3)、“水中捞气”说明天然气具有的物理性质是(填“难溶于水”或“易溶于水”)。(4)、如今人们使用的燃料种类多,可能会对环境造成影响。为了保护环境,空气监测站系统需监测气态污染物是________(填字母)(多选)。A、一氧化碳 B、二氧化碳 C、二氧化硫 D、氮氧化物 -
5、阅读下面科普短文。
石墨烯——改变世界的神奇新材料
石墨烯(C)是一种由碳原子紧密堆积的新材料,是目前人类已知强度最高的物质,单位质量的强度是世界上最好钢铁的100倍,具有优良的导电性、光学性和热传导性等,被认为是一种未来革命性的材料。
纺织领域是石墨烯应用的新兴领域,纺织面料掺入石墨烯后,在低温情况下,可将来自远红外线的热量传送给人体,改善人体微循环系统,促进新陈代谢。
海水淡化技术主要有热分离法和膜分离法,热分离法利用蒸发和冷凝分离水,但能耗大、成本高;膜分离法利用薄膜的选择透过性实现海水淡化,但现有薄膜的水通量低,应用受到限制。有科学家提出,给石墨烯“打上”许多特定大小的孔,制成单层纳米孔二维薄膜,可进行海水淡化。石墨烯海水淡化膜工作原理如下图所示。

工业上可采用甲烷(化学式为 , 常温常压下为气态)在高温和催化下分解制取石墨烯(C),同时产生氢气。随着科技水平的提升,石墨烯的应用前景会十分广阔,性能会不断提升,更好的服务于生活、生产。
依据文章内容回答下列问题
(1)、石墨烯是由构成。(2)、含有石墨烯的纺织面料制的衣服,在低温情况下,对人体的好处是。(3)、石墨烯海水淡化膜允许(填微粒符号)通过。(4)、工业上制取石墨烯的化学方程式是。 -
6、目前制氢的方法主要有化石能源制氢、电解水制氢和乙醇裂解制氢等。由化石能源制得的中含有CO,利用液氮的低温可将CO液化分离,从而获得纯净的。电解法制氢的能量转化如图1所示。乙醇裂解制氢会受到反应温度、催化剂种类等多种因素的影响。科研人员研究相同温度下裂解乙醇制备氢气时,催化剂中Mo与Fe最佳质量比的实验结果如图2,氢气产率越高,说明催化剂效果越好。

请回答下列问题:
(1)、目前制氢的方法主要有化石能源制氢、和乙醇裂解制氢等;其中电解水制氢过程中,能量转化形式为电能转化为能;除图1的新能源外,未来的新能源还有。(2)、化石能源包括、石油和天然气;天然气主要成分燃烧的化学方程式为。(3)、利用液氮的低温能将与CO分离,能实现分离的原因是的沸点比CO的沸点(填“低”或“高”)。(4)、根据图2可知,在相同温度下、相同时间内,裂解乙醇制氢气所需的催化剂中Mo-Fe的最佳质量比。 -
7、中国是茶的故乡,是茶文化的发祥地。茶叶的组成成分多,重要的有茶多酚、咖啡因等。其中,茶多酚为白色固体,味涩,易溶于水,潮湿空气中易被氧化,具有抗衰老、抗辐射、增强人体免疫力等功能。研究人员分别就不同茶叶种类(图1)、绿茶不同冲泡温度(图2)、红茶不同冲泡次数(1g红茶连续冲泡6次或以上,图3)对茶汤中茶多酚含量的影响开展了实验。

依据上文,回答问题。
(1)、由图1可知,茶多酚含量最高的茶叶种类是。(2)、由图2得出冲茶温度对茶多酚得率的影响是:在其他条件相同时,。由图3可知多次冲泡后,茶汤中茶多酚含量显著。(3)、冲茶后茶香四溢,从微观角度说明,闻到茶香的原因。茶杯中的滤网可使茶叶与茶水分离,这相当于化学实验中的操作。(4)、日常饮茶建议“即泡即饮”,从茶多酚性质的角度分析,原因是。同时,建议茶叶需要保存。 -
8、阅读下面科普短文并回答问题。
吸氧能提高血液中的氧气浓度,保障各组织器官的正常代谢和功能运转,能辅助治疗某些疾病。
生活中常用的供氧方式主要有氧气瓶、氧气袋和制氧机。氧气瓶和氧气袋中的一般用深冷法制得,该方法利用物质的沸点差异,从空气中分离出。
制氧机有膜分离、变压吸附等制氧方式。膜分离制氧用到的膜材料有陶瓷、聚苯胺等,其中混合导电陶瓷分离膜的工作原理示意如图所示。
吸氧对于缺氧人群有一定作用,但健康人短期内高流量吸氧会对机体造成不良影响,因此不能盲目吸氧。
(1)、健康人(填“能”或“不能”)盲目吸氧。(2)、氧气瓶中的一般用深冷法制得,该方法制氧利用了物质的(填“物理性质”或“化学性质”)差异。(3)、图中表示氧分子变成氧原子的是(填“Ⅰ”“Ⅱ”或“Ⅲ”)。 -
9、阅读下列短文,回答相关问题。
葡萄酒的酿造
葡萄是深受人们喜爱的水果之一。以葡萄为原料酿造的葡萄酒蕴藏了多种氨基酸、矿物质和维生素,葡萄酒酿制的部分流程如图所示。

酿酒时,酵母菌株将葡萄汁中的糖转化为酒精,同时生成高级醇、酯类、单萜等香气化合物。葡萄酒香气主要受酿造菌种、酿造工艺、发酵条件等因素的影响。研究人员以发酵汁中残糖量为指标,研究不同种类的酿酒酵母的发酵动力(即发酵过程的速率),测定结果如图1。为防止葡萄酒在陈酿和贮藏过程中被氧化,抑制葡萄汁中微生物的活动,葡萄酒酿制中还会适量添加SO2 , 其添加量对主要香气物质总量影响如图2所示。
(1)、葡萄酒酿制过程中SO2的作用是。(2)、用橡木桶陈酿的葡萄酒会带有橡木香气和果香。从微观粒子的角度解释其原因:。(3)、国际食品添加剂联合专家委员会(JECFA)规定:每人每公斤体重每天SO2的安全摄入量不超过0.7mg。一个体重60.0kg的成年人,每天SO2的摄入量不超过mg。(4)、“浸渍发酵”是在密闭不锈钢罐内将葡萄汁中的糖分转化成酒精和二氧化碳的过程,罐内的装液量控制在80%左右,要留出一定的空间,其目的是。(5)、由资料可知,葡萄酿酒过程中,发酵汁中残糖量越(填“高”或“低”),发酵效果越好;其他条件相同时,发酵速率最好的酿酒酵母菌株是(填字母)。a.BV818 b.BCl118 c.LA-FR
(6)、依据图2可知:SO2添加量在40~100mg/L范围内,下列说法正确的是(填字母)。a.SO2添加量在40mg/L时,酯类总量最高
b.高级醇总量随着SO2添加量的增大而减小
c.单萜总量随着SO2添加量的增加,先增大后减小
-
10、石墨烯是21世纪最具前景的新型纳米材料,它是从石墨中剥离出来的单层原子晶体,其微观结构如图一,工业上可采用甲烷气体(CH4)在高温和催化剂的作用下分解制取石墨烯并产生氢气。
石墨烯晶体管的传输速度远远超过目前的硅晶体管,因此有希望应用于全新超级计算机的研发。纺织面料掺入石墨烯后,在低温情况下,石墨烯可将来自远红外线的热量传送给人体,改善人体微循环系统,促进新陈代谢。另外石墨烯还能影响菌体的正常代谢,从而使菌体无法吸收养分直至死亡。不同面料中掺入石墨烯后的抗菌效果如图二。
(1)、石墨烯有希望应用于全新超级计算机的研发,说明石墨烯具有导电性,石墨烯可以转化为金刚石,该变化属于(填“物理”或“化学”)变化。(2)、分析图二,综合来看,(填“氨纶混纺纱”或“棉混纺纱”)面料中掺入石墨烯后的抗菌效果更好。(3)、下列有关说法正确的有___________(填字母序号)。A、抑菌率越高,表明抗菌性能越弱 B、石墨烯是分子构成的晶体 C、石墨烯纺织面料的抗菌性能比普通面料强 D、面料的抑菌率与面料种类、菌体种类均有关 -
11、科普文阅读。
火柴是根据物体摩擦生热的原理,利用助燃剂和发火剂的化学活性,制造出的一种能摩擦发火的取火工具。十八世纪的下半叶主要是利用黄磷为发火剂。由于黄磷有毒,后来又逐渐为P4S3火柴取代。后者虽然无毒,但随时都有自燃的可能,很不安全。
当今火柴盒的侧面涂有红磷,Sb2S3(易燃物)和玻璃粉;火柴头上的物质一般是KClO3、MnO2(催化剂)和S等。当两者摩擦时,因摩擦产生的热使氯酸钾分解,产生少量O2 , 并引起火柴头上的易燃物燃烧,从而使火柴杆着火。安全火柴的优点是红磷没有毒性,并且它和助燃剂分别粘附在火柴盒侧面和火柴杆上,不用时二者不接触,所以叫安全火柴。
(1)、黄磷(P4)一定条件下能转化为红磷(P),该变化是(“物理变化”或“化学变化”)。(2)、P4S3的名称为。(3)、火柴盒的侧面玻璃粉的作用是。(4)、火柴头摩擦后产生少量O2的来源为(填化学式)。(5)、火柴燃烧有以下反应:①2KClO3+3S=2KCl+3X,X的化学式为。
②Sb2S3燃烧后会生成Sb2O3和SO2 , 写出该化学方程式:。
-
12、2023年12月,我国科学家在世界上首次成功合成了分别由10、14个碳原子组成的环型纯碳分子材料,碳材料家族再添两位新成员的这一科研成果已发表在学术期刊《Nature》。相关团队创新性地将全氯化萘(C10Cl8)和全氯化蒽(C14Cl10)两种分子放在“手术台”氯化钠薄膜上并将其“麻醉”——用液氦冻住,有关情况如题17-1、17-2图所示。研究人员利用STM针尖作为“手术刀”对其进行“手术”(原子操纵),进而诱导两种分子完全脱卤并伴随发生反伯格曼开环反应,最终成功地在氯化钠薄膜表面上合成了两种芳香性环型碳C10和C14。

研究发现,化学键分辨的原子力显微镜表明,不同于此前C18的聚炔型结构,C10和C14均具有累积烯烃型的结构。这项工作推动了环型碳领域的研究,提出的表面合成策略有望成为一种合成一系列环型碳的普适性方法。同时,合成的环型碳有望发展成为新型半导体材料,并在分子电子器件中有着广阔的应用前景。
依据上文,回答下列问题。
(1)、碳元素是地球上最常见的化学元素之一,碳原子的最外层有个电子。(2)、从宏观组成和物质分类角度看,石墨、金刚石、富勒烯(C60)、石墨烯、C18、C10和C14的相同之处是;从微观角度看,碳的“同素异形体”的主要差别是。(3)、全氯化蒽(C14Cl10)的相对分子质量比全氯化萘(C10Cl8)大 , 全氯化萘固体完全脱卤产生固态C10和另一种气态双原子分子产物的化学方程式是。(4)、构成氯化钠的微粒符号是。液氦和氦气的相关转化过程中,发生改变的是(从微观角度解释)。 -
13、我省蔚县有一传统的民间焰火表演艺术——打铁花。首先,将生铁碎片投入火炉内的熔铁罐(熔铁罐是用上等胶泥制作而成的)中;其次,使用鼓风机不断向燃着的焦炭中鼓入空气,加热至熔化;最后,打铁花表演者通过特定的技巧将高温铁水抛向空中,形成四处飞溅的铁花。这一景象不仅展示了匠人的技艺,也体现了自然力的美妙作用。(1)、生铁熔化为铁水,从微观角度分析,该变化的微观实质是。(2)、使用鼓风机不断向燃着的焦炭中鼓入空气,其原理是。(3)、熔铁罐用的胶泥具有的性质是(写一点)。(4)、表演者通过特定的技巧将高温铁水抛向空中后,发生的反应的化学方程式为(写出1个即可)。(5)、打铁花时形成四处飞溅的铁花与生铁中含有的有关。
-
14、阅读下列科普短文,回答问题。
一、家用燃料的变迁
人类使用家用燃料的历史,经历了“柴草→煤炭→液化石油气→天然气”的迭代。柴草作为最原始的燃料,燃烧时产生能量变化,满足基本的取暖和烹饪需求;煤炭的广泛使用曾推动工业快速发展,但它燃烧时会释放二氧化硫、二氧化氮、一氧化碳及烟尘等污染物,对空气造成污染;液化石油气(主要成分为丙烷、丁烷)和天然气(主要成分为甲烷)因燃烧更充分、污染更小,成为目前主流的家用清洁燃料。
二、航空燃料的特殊要求
航空燃料是飞机的“能量心脏”,其性能直接影响飞行安全和效率。作为航空燃料,需满足三大核心要求:一是低温稳定性,需在-40℃至-60℃的高空环境中仍保持液态;二是安全性,不易挥发且着火点不能太低,避免储存和运输中发生危险;三是高能效,热值要高,能为飞机提供充足动力。下表为乙醇和航空煤油的部分性能参数:
燃料名称
化学式
着火点/℃
热值/(×1000kJ·kg-1)
乙醇
C2H6O
75
30.2
航空煤油
C8H18~C16H34
425
43
(1)、化石燃料属于(选填“可再生”或“不可再生”)能源。(2)、液化石油气、天然气燃烧出现黄色或橙色火焰时,须将燃气灶的进风口调(选填“大”或“小”)。(3)、综合文中信息推断:乙醇不适宜用作航空燃料,理由是。 -
15、科普阅读。
碘是一种卤族元素,碘在元素周期表中的信息及原子结构示意图如图所示。

碘在医疗、化学、材料等领域有一席之地。碘是维持甲状腺功能和人体健康的重要微量元素,碘元素的缺乏会对智力造成巨大的影响。食用碘盐(含碘酸钾)是预防碘缺乏病最简便、安全、有效的方式,烹饪时,待食物煮熟后加入碘盐。此外,海带、海藻、海鱼等动植物体内都含有丰富的碘。
碘是小卫星电推器的理想燃料。其工作原理:加热固态碘使其升华成气体,然后在高速电子的轰击下使其变成碘离子与自由电子,接着碘离子被加速至排气口排出,成功推动目标向前。碘的价格低廉、产量丰富、储存方便,因此是离子推进器的高效推进剂。
(1)、结合碘元素在元素周期表中的信息及碘原子的结构示意图分析,碘原子在化学反应中易(填“得到”或“失去”)电子形成碘离子,写出碘离子的符号:。(2)、食用加碘盐是预防碘缺乏病最简便、安全、有效的方式。加碘盐中的“碘”指的是(填“原子”“分子”或“元素”)。烹饪食物时,由加入碘盐的时机推测,碘盐的化学性质是。除食用碘盐外,我们还可以从一些食物中补充碘,如。(3)、从微观角度分析加热固态碘使其升华为气体的原因: , 该变化是(填物理变化或化学变化)。(4)、碘是小卫星电推器的理想燃料的原因。 -
16、
某校初三学生在老师的指导下开展关于水的科学探究与实践活动。

Ⅰ、调查水资源
小王同学去自来水公司调查,发现本地区人均用水量每年是2000m3。然后查阅到下列资料:
水资源紧缺程度
轻度缺水
中度缺水
重度缺水
极度缺水
人均水量(m3·a-1)(a为年的符号)
1700~3000
1000~1700
500~1000
<500
(1)结合上述信息,小王判断:本地区水资源紧缺程度为。因此,小王发出倡议:每个公民都必须爱护水资源。
Ⅱ、探究水组成
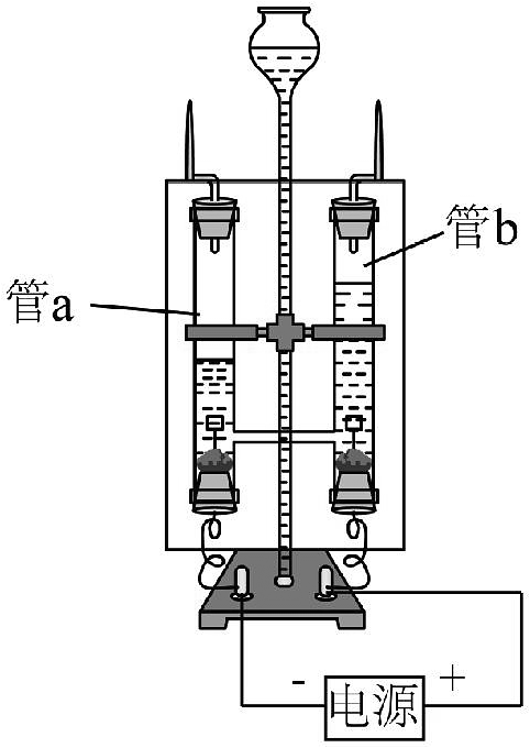
同学们认为水是一种“单质”,小李查阅化学史实发现,两百多年前的科学家也有这种错误的认识。后来的科学家对水的组成展开深入的探究,揭开了水的组成的奥秘。
化学史实1:1785年,拉瓦锡在高温的条件下,用水蒸气与红热的铁反应,将水转化为氢气,同时生成四氧化三铁。模拟实验装置如图1所示。
(2)该反应的化学符号表达式为。
(3)小李发现用产生的氢气吹出来的肥皂泡往上飘走,从而判断氢气的密度比空气。
化学史实2:1800年尼克尔森通过电解水获得氢气和氧气。某同学在水电解器中加入水至充满管A和管B,再加入少量稀硫酸钠溶液(不参与反应)。通直流电一段时间后现象如图2所示。
(4)在水电解器中加入少量稀硫酸钠溶液的目的是。
(5)检验管A内产生的气体的方法。
(6)基于拉瓦锡和尼克尔森的实验研究,可得出有关水的结论是(填序号)。
a.水是由氢气和氧气组成的
b.水是由氢元素和氧元素组成的
c.一个水分子由2个氢原子和1个氧原子构成
Ⅲ、研究水应用
化学史实3:小陆同学为了进一步了解水的应用,查阅了很多科普读物,发现有科学家将水加热到超过374℃,压强大于221MPa时,水会形成气、液相互交融的状态,这样的水被称为超临界水。超临界水能大量溶解氧气,从而发展了超临界水氧化技术。
(7)超临界水属于(选填“纯净物”或“混合物”)。
(8)一定条件下,乙醇(C2H5OH)通过超临界水氧化技术可以发生氧化反应转化为碳的氧化物和水,该过程中各含碳物质的量随时间变化如图3。请写出0~2s时间内乙醇发生氧化反应的符号表达式:。
-
17、阅读下列短文,回答相关问题。
杭州亚运会主火炬燃料——甲醇
甲醇作为燃料有上百年历史,具有安全高效、清洁、可再生的优点。2023年杭州亚运会主火炬塔就用“绿色甲醇”作为燃料。
甲醇(CH3OH)又称羟基甲烷、俗称“木精”或“木醇”,自身碳含量很低,一个甲醇分子只有一个碳原子。虽然甲醇含碳元素,燃烧又生成二氧化碳,可甲醇却被称为“零碳”燃料,这是为什么呢?
甲醇可通过二氧化碳加氢生成,每生产1吨绿色甲醇消耗1.375吨二氧化碳,实现了二氧化碳的减排和再生利用,所以被简称为“零碳”燃料,准确地说,甲醇燃料是“零增碳”。目前,我国在甲醇生产的相关设备及技术方面全球领先。
中国科学院李灿团队经过深入的研究,掌握了利用太阳能、水、二氧化碳生产甲醇的技术,该技术简称为“液态太阳燃料合成技术”(见图1),被评为“2022年度IUPAC(国际纯粹与应用化学联合会)化学领域十大新兴技术”。图2是我国通过光伏发电制得的氢气与二氧化碳共同作用生产甲醇的工艺流程。研究发现,甲醇的产率与催化剂CuO的质量分数有关,其关系如图3所示。

请根据上述信息回答问题:
(1)、甲醇作为燃料的优点是(写一点即可)。(2)、图1中甲醇燃烧生成二氧化碳和水,该反应的符号表达式为。(3)、图2的“步骤1”中能量转化为: 电能→能。(4)、图2的“步骤2”中反应的符号表达式为。(5)、由图3可知CH3OH 的产率与CuO质量分数的关系是。(6)、下列说法正确的是(填序号)。a.以甲醇为原料可以生产汽油、柴油等燃料
b.液态太阳燃料合成技术可有效减少污染物的产生
c.液态太阳燃料合成技术为探索新能源的开发和利用提供了新思路
-
18、阅读下面科普短文并回答问题。
我国是世界上最早利用天然气的国家,明代的《天工开物》记载了我国古代劳动人民利用天然气熬制井盐的工艺。在深海沉积物和陆地永久冻土中,还蕴藏着天然气的“升级版”能源——可燃冰,其主要成分是高压、低温条件下形成的甲烷水合物。1立方米可燃冰分解后可释放出上百立方米甲烷。与化石燃料相比,可燃冰有较高的能量密度,且清洁高效、储量丰富,被视为未来化石燃料的替代品。
2025年9月至10月,我国科研团队借助自主研发的“海马”号深海遥控潜水器,在南海北部1500多米深海完成可燃冰原位采集、分解及引燃:降压使可燃冰分解产生甲烷气体作为气源,再通过船载光伏发电将电能输送至海底引燃气源,成功采集到可燃冰的“源火”。这缕来自1522米南海海底的可燃冰“源火”,也成为了第十五届全国运动会的火种,创造了大型运动会火种采集的历史。
(1)、天然气属于(填“可”或“不可”)再生能源。(2)、熬制井盐的过程中,是将能转化为热能;煮盐时,CH4完全燃烧的化学方程式是;井盐的主要成分氯化钠是由(填“原子”、“离子”或“分子”)构成的。(3)、可燃冰分解后体积剧增的原因是(从微观角度解释)。(4)、光伏发电是新能源利用的重要方式,其原理是通过光伏板将太阳能直接转化为电能,该过程属于(填“物理”或“化学”)变化。(5)、下列有关可燃冰的说法中,错误的是___________(填字母序号)。A、可燃冰属于纯净物 B、在青藏高原,也可能存在可燃冰 C、可燃冰有望成为未来的新能源,对环境不会造成污染 D、如果开发和利用不当,有可能导致温室效应加剧等问题 -
19、阅读下列材料。
我国航天科研团队对模拟火星土壤进行分析,了解到火星土壤部分成分的质量分数如下表所示。火星表面具有低气压、昼夜温差极大和强辐射的环境条件。研究发现,在地球表面稳定的一些化合物,在火星特殊环境下性质会发生改变。目前我国科学家对火星资源开发的设想之一是利用火星土壤中的物质,通过一系列反应获取有用资源,比如利用太阳能将火星土壤中的氧化铁转化为铁单质和氧气。我国科学家还提出可利用火星夜晚的低温,通过凝结将二氧化碳从火星大气中直接分离,而后将火星土壤作为水分解的催化剂和二氧化碳加氢的催化剂,将火星大气中的二氧化碳、火星表面开采的水资源等转化为氧气、氢气、甲烷和甲醇。
成分样品种类
二氧化硅
氧化铝
氧化镁
氧化铁
第一层土壤
勃朗峰土壤
依据上述材料内容,回答下列问题。
(1)、火星土壤主要成分中质量分数最大的物质是。(2)、分离是利用火星大气各成分的(填“熔点”或“沸点”)不同。(3)、将氧化铁转化为铁单质反应所需能量来源于 , 其反应的化学方程式是。 -
20、2025年诺贝尔化学奖授予“金属有机框架”(MOFs,如图1)领域的三位科学家。1974年,理查德·罗布森突发奇想,他将铜离子与一种具有四个连接臂的有机分子相结合,成功得到了一个高度有序、内部布满空腔的三维晶体结构。1995年,奥马尔·亚吉合成了以对苯二甲酸(C8H6O4)等刚性有机羧酸和金属簇为单元的MOF-5系列材料,具有极高的比表面积和惊人的稳定性。1997年起,北川进开创了 MOFs在柔性、动态响应和选择性吸附方面的研究,使其能对外部刺激(气体、温度)做出反应,实现分子的精准筛分与捕获。
MOFs具有高比表面积和可调控的孔道结构,可用于二氧化碳的吸附和选择性气体分离(如图2)。

依据上文,回答问题。
(1)、对苯二甲酸中的碳、氢元素的质量比为(填最简整数比)。(2)、MOFs吸附CO2是变化,能缓解等环境问题。(3)、自然界有多种途径吸收CO2 , 请写出海水吸收CO2的化学方程式:。(4)、下列有关MOFs的说法正确的是 (多选,填字母)。a.比表面积大 b.其结构可设计调控
c.其组成中不含金属元素 d.可用于气体的吸附