- 
                            1、同学们用多种方法测重力加速度值。
(1)、第一次用弹簧测力计粗测重力加速度。将一个质量为的物体挂在校准后的竖直弹簧测力计下端,静止时指针如图所示,则重力加速度为(结果保留2位有效数字)。(2)、①第二次利用自由落体运动测重力加速度。下图实验操作中的四种情况,其中操作正确的是(填选项下字母)。A.
   B.
   C.
   D.
②利用本实验的实验器材,不能完成的实验是(填选项前字母)。
A.测量纸带的平均速度和瞬时速度
B.研究匀变速直线运动的规律
C.探究加速度与力、质量的关系
D.验证机械能守恒定律
(3)、第三次利用单摆测重力加速度。实验中多次改变摆长使单摆做小角度摆动,测量摆长及相应的周期。此后,甲同学以为纵轴,为横轴,作图线,得到图线斜率为 , 则当地重力加速度为;乙同学分别取和的对数,所得到的图线为(选填“直线”、“对数曲线”、“指数曲线”)。 - 
                            2、如图所示,粗细均匀的光滑直杆倾斜固定放置,杆与水平面夹角为 , 质量为的小球A套在杆上,小球B用细线与A相连,A、B连线水平。给小球B施加一个与杆平行的恒定拉力 , 小球A、B均处于静止。重力加速度为 , , , 下列判断正确的是( )
A、直杆对小球的支持力为 B、连接A、B小球的细线张力为 C、拉力的大小是 D、小球B的质量是 - 
                            3、用、两种可见光照射同一光电效应装置,测得光电流与电压的关系图像如图甲所示,图乙为氢原子的能级图。下列说法正确的是( )
A、光的频率比光的大 B、用光照射时,获得的光电子最大初动能较大 C、用大量的光子去照射基态的氢原子可得到两种可见光 D、若光是氢原子从跃迁到时发出的,则光可能是从跃迁到时发出的 - 
                            4、如图甲所示,在某电场中建立坐标轴,一个质子仅在静电力作用下沿轴正方向运动,经过A、、三点,已知。该质子的电势能随坐标变化的关系如图乙所示,则下列说法正确的是( )
A、在轴上电场强度方向沿轴负方向 B、间电势差等于间电势差 C、A点电场强度小于点电场强度 D、质子从A运动到静电力做的功大于从运动到静电力做的功 - 
                            5、2024年8月3日,中国选手郑钦文在巴黎奥运会网球女子单打中夺得金牌。比赛中运动员常会高抛发球,假设网球抛出的初速度竖直向上,忽略空气阻力,某同学想用图像描述该竖直上抛运动,下列判断正确的是( )
A、甲图可能是速度时间图像 B、甲图可能是速率时间图像 C、乙图可能是位移时间图像 D、乙图可能是路程时间图像 - 
                            6、现有一光线以相同的入射角 , 分别射入两杯不同浓度的溶液中,折射光线如图所示 , 已知溶液的折射率随浓度增大而增大,忽略杯子对光线传播的影响。下列说法正确的是( )
A、从两杯底的出射光线与底边夹角相等 B、光线在乙杯溶液中传播较快 C、甲杯中溶液的浓度比乙大 D、适当增大入射角,乙杯中的光线在杯底可能发生全反射 - 
                            7、如图所示,体重相同的甲乙两同学静止在光滑水平面上玩抛接球游戏。第一次,甲同学把一个充气的大乳胶气球,以某一速度水平投向乙,乙接住。第二次,放掉部分气体后气球变得很小,甲同学再把气球以相同的速度投向乙,乙接住。下列说法正确的是( )
A、第一次接球后,乙的速度比甲大 B、第二次接球后,乙的速度比甲大 C、乙接球的过程,第一次球的动量变化量较大 D、乙接球的过程,第二次球的动量变化量较大 - 
                            8、下列说法正确的是( )
A、由图甲可知,黑体既不反射电磁波,也不向外辐射电磁波 B、由图乙可知,达到热平衡的系统具有相同的温度 C、图丙是核反应堆示意图,其中镉棒的作用是释放中子以保证核裂变能持续进行 D、图丁是射线测厚装置示意图,工业上利用射线来对金属板的厚度进行自动控制 - 
                            9、用“油膜法估测油酸分子大小”的实验中,下列说法正确的是( )A、将油酸分子看成球形且紧密排列,体现的是等效替代法的物理思想方法 B、应先滴油酸酒精溶液,再撒痱子粉 C、向量筒中滴5滴溶液,测出5滴溶液的体积,算得1滴溶液的体积 D、待油膜形状稳定后,再在玻璃板上描出油膜的形状
 - 
                            10、下列四幅图中形成原理与其他三幅图不同的是( )A、
                                                                                            B、
                                                                                            C、
                                                                                            D、
                                                                                     - 
                            11、下列四幅图中有关力学知识描述正确的是( )
A、甲图:树枝受到猴子的拉力是猴子发生形变产生的 B、乙图:赛艇在比赛中能加速前进是由于水推桨的力大于桨推水的力 C、丙图:滑雪运动员滑行时所受摩擦力方向与其运动方向相同 D、丁图:翼装飞行爱好者在空中匀速滑翔时不受空气的作用力 - 
                            12、现有一三棱柱工件,由透明玻璃材料组成,如图所示,其横截面ABC为直角三角形,ACB=30°,AB面镀有水银。现有一条光线沿着截面从AC边上的O点以45°的入射角射入工件,经AB面反射后光束沿原光路返回。其中CO=AC=l,光速为c。求:
(1)玻璃对该光的折射率;
(2)光在三棱镜中的传播时间。

 - 
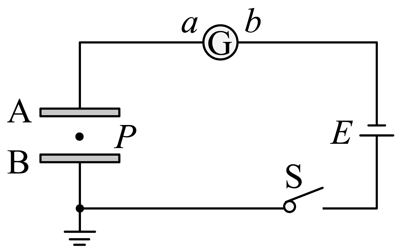
                            13、如图所示,某兴趣小组为了再现密立根油滴实验,实验中调节两板间电压,使两板间的场强大小为 , 观测到一电量为的带电油滴悬浮静止在电场之中,板间距离为 , 重力加速度为。求
(1)若上极板带正电,试判断该带电油滴带何种电荷;
(2)两板间的电压为多少;
(3)该带电油滴的质量为多少。

 - 
                            14、某同学利用图示装置测量某种单色光的波长。实验时,接通电源使光源正常发光:调整光路,使得从目镜中可以观察到干涉条纹。回答下列问题:
(1)、若想减少从目镜中观察到的条纹个数,该同学可( )A、将单缝向双缝靠近 B、将屏向靠近双缝的方向移动 C、将屏向远离双缝的方向移动 D、使用间距更小的双缝(2)、若如果测量头中的分划板中心刻线与干涉条纹不在同一方向上,如图1所示,则在这种情况下测量干涉条纹的间距时,测量值实际值。(填“大于”、“小于”或“等于”)(3)、经仪器调整后,该装置在光屏上得到的干涉图样如图2所示,分划板测得A、B两个条纹的位置示数分别为 , , 在图中A位置游标卡尺如图3所示,则其示数为mm。
(4)、若双缝间距为d,双缝到光屏间的距离为L,则该单色光的波长(用 , , d,L表示)。 - 
                            15、如图是静电除尘的原理示意图,A为金属管,B为金属丝,在A,B间加上高电压,使B附近的空气分子被强电场电离为电子和正离子,电子在向A极运动过程中被烟气中的煤粉俘获,使煤粉带负电,最终被吸附到A极上,排出的烟就比较清洁了.有关静电除尘的装置,下列说法正确的是
A、金属管A应接高压电源的正极,金属丝B接负极 B、金属管A应接高压电源的负极,金属丝B接正极 C、C为烟气的进气口,D为排气口 D、D为烟气的进气口,C为排气口 - 
                            16、关于下列四幅图所涉及的光学知识中,说法正确的是( )
       
   
   A、图甲皂液薄膜观测到明暗相间条纹是光的干涉结果 B、图乙医用内窥镜是光的衍射现象的应用 C、图丙是观测光的偏振现象,偏振现象说明光是一种横波 D、图丁泊松亮斑是由于光的折射产生的 - 
                            17、如图所示,粗糙的竖直杆固定,原长为L0、劲度系数为k的轻质弹性绳一端固定在A点,另一端穿过固定的光滑小孔О后与套在杆上的小球相连。杆上的C点、小孔O、A点位于同一条水平线上,且AO=OC=L0 , C点与B点之间的距离为1.25L0 , 质量为m的小球静止在B点时,恰好不受摩擦力。求:
(1)、小球静止在B点时,杆对小球的弹力;(2)、轻质弹性绳的劲度系数k;(3)、用竖直外力将小球从B点下方的D点缓慢拉至B点,此过程物体所受摩擦力是恒力还是变力?若是变力,请说明变大还是变小;若是恒力,假定动摩擦因数=0.25,求物体所受摩擦力大小。 - 
                            18、如图所示,固定斜面的倾角θ=30°,A、B两物体用跨过定滑轮О的轻绳相连,且OA段与斜面平行,A的质量mA=4kg,A与斜面间的动摩擦因数为 , 绳与滑轮间的摩擦不计,g取10m/s2。
(1)、若B的质量mB=1.5kg,A静止不动,求绳中的拉力大小;(2)、若B的质量mB=1.5kg,A静止不动,求A所受摩擦力大小和方向;(3)、若A恰好沿斜面向上匀速滑动,求B的质量。 - 
                            19、甲乙两辆汽车在平直的公路上沿同一方向做匀变速直线运动,t=0时刻同时经过公路旁的同一路标,下表是每隔1s记录的两车的速率。
时间t/s
0
1
2
3
4
甲车的速率/(m/s)
18.0
16.0
14.0
12.0
10.0
乙车的速率/(m/s)
3.0
4.0
5.0
6.0
7.0
(1)、根据表中数据,在坐标图中画出甲、乙两车运动的v-t图像;(2)、求4s末,甲、乙两车间的距离;(3)、在乙车追上甲车之前,何时两车相距最远?最远距离为多少? - 
                            20、在距离地面h=15m高的位置,以初速度=10m/s竖直向上抛出一小球,小球做加速度为g的匀变速直线运动,最后落至地面,不计空气阻力,g取10m/s2。求:
(1)、小球从抛出到最高点所用时间;(2)、小球上升到最高点位移大小;(3)、小球落地时的速度。