- 
                            1、2024年8月18日,我国自主设计的首台7000米级大深度载人潜水器“蛟龙号”顺利完成第300次下潜。若水下某段潜水器做直线运动,加速度方向始终与速度方向相同,但加速度大小逐渐减小至零,则此过程中,潜水器( )A、速度逐渐增大,当加速度减小至零时,速度达到最大值 B、速度逐渐减小,当加速度减小至零时,速度达到最小值 C、位移一直在增大,直到加速度为零后,位移不再变化 D、位移一直在增大,当加速度减小至零时,位移继续增大
- 
                            2、2024年开学季,浙江大学杭州校园内出现了一群由师生团队自主研发的机器狗,为新生们运送行李。假设机器狗单次运输过程是直线运动,距离是60m,先由静止做加速度为a的匀加速直线运动,达到最大速度后立即做加速度为2a的匀减速直线运动,最后停止,用时共12s。则在单次运输的运动过程中( ) A、a的大小为 B、匀加速的时间是4s C、最大速度是5m/s D、全程的平均速度是10m/s A、a的大小为 B、匀加速的时间是4s C、最大速度是5m/s D、全程的平均速度是10m/s
- 
                            3、新能源电动车已经走进我们的生活,逐渐为大家所青睐。对某新能源电动车进行刹车测试时,该车以30m/s的速度开始做匀减速直线运动,运动最后1s内的位移大小为6m。则下列有关该车在匀减速直线运动过程中描述正确的是( )A、加速度大小为6m/s2 B、位移大小为35m C、减速的时间为3s D、平均速度大小为15m/s
- 
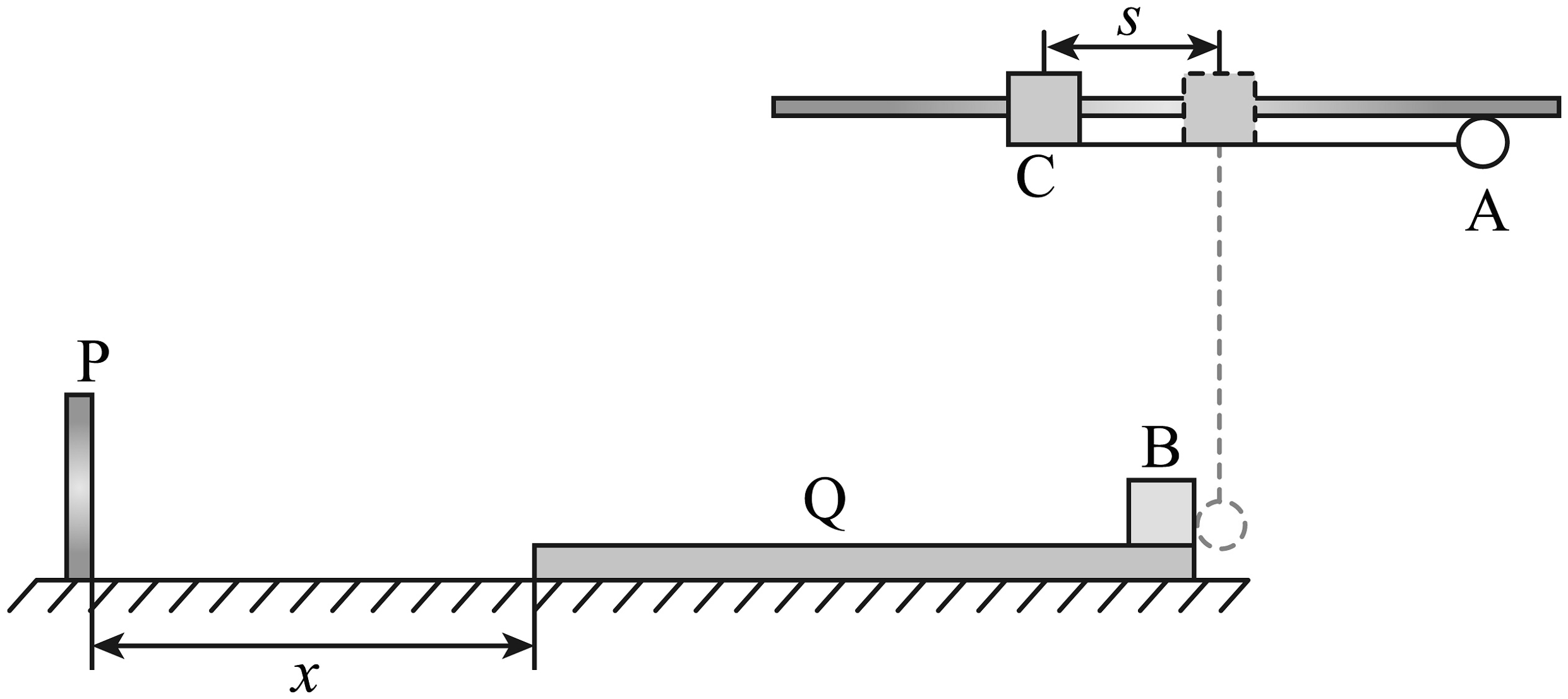
                            4、如图所示,假设汽车以72km/h的速度匀速行驶,自动驾驶系统感知到前方的静止障碍物与汽车的距离接近安全距离时,即使司机未采取制动措施,该系统也会立即启动“自动刹停”功能,加速度大小约为10m/s2 , 避免汽车与障碍物相撞,请推算系统设置的安全距离约为( ) A、10m B、20m C、30m D、40m A、10m B、20m C、30m D、40m
- 
                            5、为庆祝中华人民共和国成立75周年,10月1日上午10点,广州市公安局指挥中心警航支队出动3架警用直升机悬挂国旗编队巡逻飞行,如图是三机编队呈“品”字型飞过广州塔。下列有关说法错误的是( ) A、“10月1日上午10点”是指时刻 B、人们看到国旗飞过,是以飞机为参考系 C、飞行员看到广州塔向后掠过,可能是以飞机为参考系 D、以编队中某一架飞机为参考系,其他飞机是静止的 A、“10月1日上午10点”是指时刻 B、人们看到国旗飞过,是以飞机为参考系 C、飞行员看到广州塔向后掠过,可能是以飞机为参考系 D、以编队中某一架飞机为参考系,其他飞机是静止的
- 
                            6、第19届亚运会将于2023年9月23日~10月8日在杭州举行。亚运会包括射击、体操、田径、击剑等40个大项目比赛。下列关于运动项目的描述正确的是( )A、评判马拉松运动员跑步成绩时,运动员可视为质点 B、研究体操运动员的体操动作时,运动员可视为质点 C、在评判击剑运动员的比赛成绩时,运动员可视为质点 D、在双人同步跳水运动中,评判比赛成绩时,运动员可视为质点
- 
                            7、篮球比赛中,抢断可以破坏对方的进攻机会,进而创造机会拉开分差。假设篮球运动员在某一次运球过程中,离地面0.8m处,将篮球以3m/s竖直下抛,篮球在地面竖直反弹后恰好回到原来高度,将篮球看作质点,忽略空气阻力以及篮球反弹过程所需时间。重力加速度取 , 求: (1)、篮球落地时的速度大小。(2)、篮球从地面反弹时的速度大小及反弹后到最高点所需的时间。(3)、篮球在距离地面0.35米内,为最佳抢断时机。求在此次运球过程中,防守球员的最佳抢断时机有多长时间,你建议是在篮球下落阶段还是在上升阶段抢断。 (1)、篮球落地时的速度大小。(2)、篮球从地面反弹时的速度大小及反弹后到最高点所需的时间。(3)、篮球在距离地面0.35米内,为最佳抢断时机。求在此次运球过程中,防守球员的最佳抢断时机有多长时间,你建议是在篮球下落阶段还是在上升阶段抢断。
- 
                            8、在粗糙水平面上,有一块上下表面粗糙程度不同质量为的长方体木板,木板的上方有一个材质与水平面相同且质量为的物块,此时木板与水平面的动摩擦因数为 , 物块与木板之间的动摩擦因数为 , 物块受到水平拉力F时,木板和物块相对静止一起在水平面上做匀速直线运动,若最大静摩擦力等于滑动摩擦力,重力加速度为g,求: (1)、至少多大;(2)、的大小;(3)、若将木板上下翻面(即接触面动摩擦因数互换),其余条件均不变,试求物块与木板间的摩擦力大小以及木板与地面间的摩擦力大小。 (1)、至少多大;(2)、的大小;(3)、若将木板上下翻面(即接触面动摩擦因数互换),其余条件均不变,试求物块与木板间的摩擦力大小以及木板与地面间的摩擦力大小。
- 
                            9、如图是一个原长为10cm,劲度系数k为100N/m的轻质弹簧与质量m为100g可视为质点的物块的组合体,物块下方有大小可忽略的挂钩可以悬挂弹簧,弹簧的弹性限度足够大,重力加速度取 , 求: (1)、将此一个组合体的弹簧最上端竖直悬挂在水平天花板上,求弹簧的伸长量。(2)、在(1)中组合体的下方继续悬挂另一个相同的组合体,求第二个组合体的物块离天花板的距离。(3)、继续在上一个组合体下方悬挂相同的组合体,当n个组合体被悬挂时,求最下方的物块离天花板的距离。 (1)、将此一个组合体的弹簧最上端竖直悬挂在水平天花板上,求弹簧的伸长量。(2)、在(1)中组合体的下方继续悬挂另一个相同的组合体,求第二个组合体的物块离天花板的距离。(3)、继续在上一个组合体下方悬挂相同的组合体,当n个组合体被悬挂时,求最下方的物块离天花板的距离。
- 
                            10、某物体做初速度10m/s,加速度为的匀加速直线运动,求:(1)、物体第3秒末的速度为多少?(2)、前3秒内的平均速度为多少?(3)、第10秒内物体的位移为多少?
- 
                            11、如图为“探究弹力和弹簧伸长量的关系”的实验装置图,下列说法正确的是( ) A、以水平测量弹簧长度作为原长,对实验结果没有影响。 B、先竖直悬挂,再测量弹簧长度作为原长,则自重对实验结果无影响。 C、实验过程中,每次记录下的是弹簧的伸长量。 D、若测量点定在弹簧中间位置,则测量点对应的伸长量与在弹簧末端测得的一样大。 A、以水平测量弹簧长度作为原长,对实验结果没有影响。 B、先竖直悬挂,再测量弹簧长度作为原长,则自重对实验结果无影响。 C、实验过程中,每次记录下的是弹簧的伸长量。 D、若测量点定在弹簧中间位置,则测量点对应的伸长量与在弹簧末端测得的一样大。
- 
                            12、“探究两个互成角度的力的合成规律”的实验情况如图甲所示,其中A为固定橡皮条的图钉,O为橡皮条与细绳的结点。OB和OC为细绳,图乙是在白纸上根据实验结果画出的图示。 (1)、图乙中的F与两力中,方向一定沿AO方向的是。(2)、本实验采用的科学方法是______。A、理想实验法 B、等效替代法 C、控制变量法 D、建立物理模型法(3)、实验中可减小误差的措施有______。(多选)A、两个分力的大小要越大越好 B、两个分力间夹角应越大越好 C、拉橡皮条时,弹簧测力计、橡皮条、细绳应贴近木板且与木板平面平行 D、AO间距离要适当,将橡皮条拉至结点O时,拉力要适当大些(4)、本实验至少需要拉2次弹簧测力计才能完成实验。如果实验中缺少橡皮条,但有3个弹簧测力计。要继续探究该规律则至少需要拉次弹簧测力计。 (1)、图乙中的F与两力中,方向一定沿AO方向的是。(2)、本实验采用的科学方法是______。A、理想实验法 B、等效替代法 C、控制变量法 D、建立物理模型法(3)、实验中可减小误差的措施有______。(多选)A、两个分力的大小要越大越好 B、两个分力间夹角应越大越好 C、拉橡皮条时,弹簧测力计、橡皮条、细绳应贴近木板且与木板平面平行 D、AO间距离要适当,将橡皮条拉至结点O时,拉力要适当大些(4)、本实验至少需要拉2次弹簧测力计才能完成实验。如果实验中缺少橡皮条,但有3个弹簧测力计。要继续探究该规律则至少需要拉次弹簧测力计。
- 
                            13、某同学在做“小车速度随时间变化关系”实验时,从打下的若干纸带中选出了如图所示的一条(每两点间还有4个点没有画出来),图中的数字为相邻两个计数点间的距离。打点计时器的电源频率为50Hz。 (1)、下列判断正确的是______。(多选)A、点密集的地方物体运动的速度比较大 B、点密集的地方物体运动的速度比较小 C、点不均匀说明物体做变速运动 D、点不均匀说明打点计时器有故障(2)、相邻计数点间的时间间隔为s;纸带上D点相对应的瞬时速度大小为m/s。(速度的数值保留3位有效数字) (1)、下列判断正确的是______。(多选)A、点密集的地方物体运动的速度比较大 B、点密集的地方物体运动的速度比较小 C、点不均匀说明物体做变速运动 D、点不均匀说明打点计时器有故障(2)、相邻计数点间的时间间隔为s;纸带上D点相对应的瞬时速度大小为m/s。(速度的数值保留3位有效数字)
- 
                            14、已知的合力大小为5N,大小为4N,与的夹角为 , 则大小可能为( )A、 B、 C、3N D、6N
- 
                            15、下列说法正确的是( )A、亚里士多德提出物体下落的快慢与物体轻重无关。 B、质点是一种理想化模型,现实世界中不存在。 C、加速度越大的物体,速度越大。 D、当加速度方向与速度方向相反时一定是减速运动,当加速度方向与速度方向相同时一定是加速运动。
- 
                            16、一可视为质点的物体,以初速度水平向右做匀变速直线运动,经过一段时间后速度变为v,已知在这段时间内物体速度变化量的大小为7m/s,速度大小的变化量为1m/s,下列说法正确的是( )A、初速度大小为4m/s B、当速度为v时,该物体一定在起点位置左侧 C、该运动是匀减速直线运动 D、根据已知条件,初末速度有多种情况
- 
                            17、甲乙两人在同一直线上做匀变速直线运动,从他们第一次相遇时开始计时,此后他们运动的图像如图所示,则他们何时会再次相遇( ) A、 B、 C、 D、 A、 B、 C、 D、
- 
                            18、一可视为质点的物块与固定在墙面的水平轻质弹簧相连,弹簧原长为10cm,劲度系数为 , 物块质量为1.2kg,重力加速度取 , 物块与地面的动摩擦因数为0.24。在不施加其他外力的情况下,若最大静摩擦力等于滑动摩擦力,则滑块可能在距离墙面多远的地方保持静止( )A、6.5cm B、8cm C、13cm D、15cm
- 
                            19、一辆小车踩下刹车后,做匀减速直线运动。已知车停下前2s内制动距离为15m,则通过最后5m所用的时间为( )A、 B、 C、 D、
- 
                            20、一个可视为质点的小球以做竖直上抛运动,重力加速度取 , 则小球在第2秒内的位移为( )A、10m B、1.25m C、12.5m D、0m