相关试卷
-
1、如图所示,水平传送带以的速度逆时针匀速运动。在传送带的正上方处以的初速度水平向右抛出一可视为质点的质量的木块A, A落在传送带上时不发生反弹,在内竖直方向的速度减为零。此后A在传送带上向右运动,到达右端时速度恰好为零,A与传送带间的动摩擦因数为。传送带右端与一倾角的斜面顶端平滑相连,在距离斜面顶端的位置静止放置另一可视为质点的质量为的木块B,该位置以上的斜面光滑,以下的斜面粗糙,A木块与这部分斜面的动摩擦因数为 , B木块与这部分斜面的动摩擦因数为。A木块在传送带右端受到轻微扰动后,沿斜面下滑,与B木块发生多次弹性正碰。已知重力加速度为 , , , 不考虑A木块在内撞击传送带过程中A的竖直位移,求:
(1)、A木块在内撞击传送带过程中传送带给A的竖直冲量大小;(2)、A木块在传送带上从竖直速度减为零之后到滑动到最右端过程中A木块与传送带间由于摩擦产生的热量;(3)、若AB两木块恰好在斜面底端发生第次碰撞且n非无穷大 , 求斜面的总长度L。 -
2、如图甲所示,“日”字形单匝线框平放在粗糙的水平桌面上,线框可以看作两个正方形,正方形的每条边长为 , 线框总质量 , 其中 , 其余边不计电阻,线框与桌面间动摩擦因数。线框左边用水平细绳通过光滑的轻质定滑轮悬挂一质量也为m的物块,右边有一垂直ab边的水平力F作用在ab边上。以ab边的初位置为原点建立水平向右的x轴如图,在桌面条形区间有竖直向下的匀强磁场,磁感应强度。力F拉动线框通过磁场区域,可以认为ab边刚出磁场时,cd边恰进磁场,整个过程物块都没有碰到定滑轮,线框没有离开桌面,细绳不可伸长,重力加速度。
(1)、若线框以的速度匀速通过磁场区域,求ab边在磁场中运动时ab两点间电势差;(2)、若线框从静止出发做匀加速直线运动,通过磁场区域过程中拉力F与时间t的图像如图乙所示,图中数据可用,求这一过程中拉力F与时间t的关系式;(3)、若线框从静止出发,通过磁场区域过程中速度v与位移x的关系图像如图丙所示,图中数据可用,求ab边穿过磁场过程中ab产生的焦耳热。 -
3、国务院新闻办公室于2024年8月29日发布《中国的能源转型》白皮书,回顾了近十年来,中国坚定不移走绿色低碳的能源转型之路取得的显著成效,也制定了相关中长期发展规划。某农村计划安装沼气池设备,如图所示为沼气池的简化图。沼气是一种混合可燃气体(看作理想气体),主要成分是甲烷,在多个领域都有重要应用,如:它可用于生活燃料,通过沼气灶将沼气燃烧,产生的火焰能满足日常做饭、烧水等需求,与传统的柴薪相比,更加清洁、高效。若某家庭使用的沼气池贮气间为大小为的密闭室,主要给一款沼气炉灶供气,该款沼气炉灶的部分参数有:1.热效率:沼气炉灶的热效率一般在左右,这意味着燃烧沼气所释放的热量中有被有效利用于加热炊具等,其余热量散失到周围环境中。2.灶前压力:沼气灶正常工作的灶前压力一般在之间,这个压力可以保证沼气稳定地供应到炉灶燃烧器进行充分燃烧。取绝对零度为。
(1)、早晨使用结束后发现,贮气间的温度为 , 压强为1000Pa,中午使用前贮气间的温度上升至 , 若没有沼气补充,请通过计算说明,中午是否能稳定使用该沼气炉灶?(2)、早晨使用结束后保持贮气间的温度为不变,压强为1000Pa,若没有沼气补充,求中午能够稳定使用的沼气占原沼气百分比? -
4、某学习小组的同学用如图甲的装置验证竖直面内的圆周运动过程中机械能守恒。轻细杆一端连接在光滑固定转轴O处,另一端连接一小球。在转轴O点的正上方和正下方轨道半径处分别安装光电门,测出杆长 L,杆的宽度 d和小球的直径D。现使小球在竖直面内做圆周运动,读出轻杆经过O点正上方光电门的时间为 , 经过O点正下方光电门的时间为。已知当地重力加速度为g,不考虑空气阻力。
(1)、该同学用游标卡尺测小球直径D时,示数如图乙所示,则mm;(2)、如果要验证小球在竖直面内做圆周运动机械能守恒,需要满足的方程为(用题中的L、d、D、、、g等符号表示);(3)、某位同学误把光电门安装在轻杆的中点,已知小球质量为m,则用原来的方法计算小球从最高点到最低点过程中动能的增量时会出现测量值真实值(填“>”“<”或“=”)(4)、另一位同学光电门安装正确,他让小球由任意位置静止释放,测出多组释放点到最低点的距离s,以及对应小球运动到最低点光电门的遮光时间 , 作出了图像。若图像是一条过坐标原点的直线,且直线斜率 (用题中的L、d、D、g等符号表示),则说明小球运动过程机械能守恒。 -
5、某实验小组测量一电流计G的内阻,两位同学采用了不同的方法。同学一采用如图甲所示的电路,实验步骤如下:

①按图连接好电路,将滑动变阻器的滑片调至正确的位置;
②先断开开关 , 闭合开关 , 调节滑动变阻器的滑片位置,使G满偏;
③再闭合 , 保持滑动变阻器的滑片位置不变,调节电阻箱的阻值,使G的示数为满偏的一半,记下此时电阻箱的阻值为;
④断开电路。
同学二采用如图乙所示的电路,实验步骤如下:

①按图连接好电路;
②闭合开关S,调节滑动变阻器R和电阻箱,使电流表A的示数为电流计G的3倍,记下此时电阻箱的阻值为;
③断开电路。
根据两位同学的实验操作,回答下列问题:
(1)、两位同学在实验第1步中,滑动变阻器的滑片开始都应调至端(填“a”或“b”);(2)、同学一测量的电流计G的内阻;(3)、同学二测量的电流计G的内阻;(4)、从系统误差的角度分析,两位同学的测量值的大小关系为(填“>”“<”或“=”)。 -
6、如图,在平面直角坐标系xOy的第一象限内有匀强电场图中未画出 , 第二象限内除区域外都有匀强磁场,其方向垂直坐标平面向外,磁感应强度大小为 B。一束带电粒子从AC边界以相同方向的速度进入匀强磁场,结果都从y轴上的C点平行x轴向右飞出磁场,其中从A入射的粒子到达x轴上的D点图中未标出时,速度方向斜向右下与夹角为 , 且大小与A点速度相等,已知带电粒子质量为m,电量为 , AC边界与x轴夹角 , C点坐标为 , 电场中D点到O点的电势差为U,不计粒子的重力和粒子间的相互作用力。下列说法正确的是( )
A、带电粒子在磁场中运动的时间不相等 B、带电粒子从AC边界入射的速度大小与其入射点y坐标的关系为 C、第一象限内匀强电场的场强大小为 D、从A入射的粒子在第一象限电场中的最小速度大小为 -
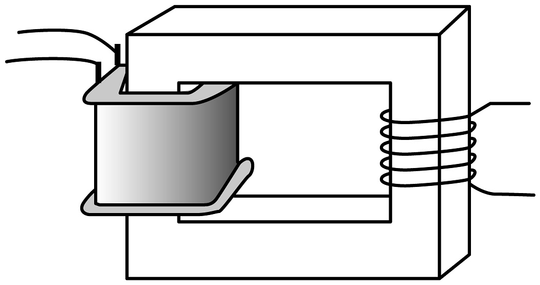
7、如图所示为交流发电机与变压器的简化示意图。矩形线圈处于磁感应强度为的匀强磁场中,其边长分别为 , , 匝数匝,内阻 , 以角速度匀速转动。理想变压器原线圈匝数匝,副线圈匝数匝,定值电阻与原线圈连接,电阻箱与副线圈连接,下列说法正确的是( )
A、交流发电机产生的电动势有效值为 B、当电阻箱阻值时,交流发电机输出功率最大 C、当电阻箱阻值时,上消耗的功率最大 D、当电阻箱的阻值变大时,电阻消耗的热功率变小 -
8、“天舟8号”货运飞船于2024年11月15日23时13分由长征七号遥九运载火箭搭载,在中国文昌航天发射场成功发射并与“天宫一号”空间站对接。“天舟8号”除了承担了向空间站运送货物的运输使命,还肩负着一次“特殊”的科学任务,把我国科研人员根据月壤样品所研究出来的月壤砖放置在空间站外,接受宇宙射线和剧烈温度变化的考验,以评估其在实际应用中的表现,为推进月球科研站的建设做出积极贡献。“天舟8号”多次变轨简化示意图如图所示。从近地轨道1的P点变轨到椭圆轨道2,在远地点Q再次变轨转移到330千米的圆轨道3。对“天舟8号”此次发射、变轨、对接过程,下列说法正确的是( )
A、“天舟8号”在近地轨道1的周期大于轨道3的周期 B、“天舟8号”在椭圆轨道2上任何一点的速度都小于 C、“天舟8号”在轨道3稳定运行时经一次加速即与“天宫一号”空间站成功对接,可知“天宫一号”空间站的轨道半径大于轨道3的轨道半径 D、“天舟8号”在轨道3稳定运行时,经过Q点的向心加速度大小等于轨道2上经过Q点的加速度大小 -
9、一列机械横波沿x轴传播,在x轴上有P、Q两质点,其平衡位置相距6m,时刻P处在波峰,Q在平衡位置且正在向上振动,此后再过 , 质点 P首次回到平衡位置,则该机械波的波速可能为( )
A、 沿方向 B、 沿方向 C、 沿方向 D、 沿方向 -
10、如图甲所示,有一倾角为的光滑斜面,在斜面的水平线ef以下区域有垂直斜面方向的匀强磁场,其磁感应强度随时间按图乙规律变化,其中图线为直线,图线为余弦函数的一半,图中和T为已知量,规定垂直斜面向上为正。斜面上有一n匝正方形线圈,边长为L,总质量为m,总电阻为R,其中ab边恰好在磁场边界ef线之外,线圈在平行于斜面向上的外力F作用下始终保持静止状态,重力加速度为g,则下列说法正确的是( )
A、在内,线圈中产生的感应电流的方向为abcda B、在内,外力F的最大值为 C、在内,通过线圈某一截面的电量为 D、在内,线圈cd边受到的安培力大小先减小后增大 -
11、如图所示,光滑的地面上有一个木块C,C上面通过一个弹性棒连接木块B,弹性棒可以弯曲但不改变长度。开始弹性棒处于竖直状态,一颗子弹A以水平初速度射入B但没有穿出,射入过程时间极短,之后 AB整体在弹性棒上面反复左右摇摆。已知 , , , 整个运动过程C始终没有脱离地面且没有翻倒,下列说法正确的是( )
A、子弹A射入木块B过程中AB系统机械能守恒 B、弹性棒向右弯曲最大时AB整体的速度为 C、弹性棒向右弯曲最大时具有的弹性势能大小等于子弹射入木块B之后系统减少的动能 D、弹性棒第一次回到竖直状态时C的速度大小为 -
12、如图所示,a、b所在水平直线垂直于均匀带电正方形薄板所在平面,且通过板的几何中心O,a、b两点关于薄板对称,到薄板中心O的距离都是d,Oc垂直于ab连线且abc构成等边三角形。在c点固定一点电荷,a点场强大小为E,方向垂直于ab连线,已知静电力常量为k,则下列说法正确的是( )
A、正方形薄板与c处的点电荷带同种电荷 B、薄板上的电荷在b点产生的场强大小为 C、c处的点电荷的电量绝对值为 D、a、b两点的场强相等但电势不相等 -
13、平静的湖面上漂浮着一块边长为a的正方形软木片(忽略浸入水中的厚度),木片的正下方有一条小鱼,如图所示。已知水的折射率为 , 若在水面上方看不到鱼,则鱼离水面的最大距离h为( )
A、 B、 C、 D、 -
14、外卖给现代人们的生活带来了便利。一位外卖人员手提一盒质量为m的外卖进入厢式电梯上楼或下楼,他手机中的加速度传感器记录了电梯某一段运动的加速度随时间变化的图像如图所示,图中已知,重力加速度为g,取竖直向上为正方向。下列说法正确的是( )
A、时间段内,外卖人员处于超重状态,且电梯一定在加速上升 B、质量为m的外卖对外卖人员的手施加的最大拉力为 C、时间段内,电梯一定处于匀速状态 D、时间段内,质量为m的外卖重力变小了 -
15、关于光电效应与波粒二象性,下列说法正确的是( )A、对于同一种金属发生光电效应时,光电子的最大初动能不仅与入射光的频率有关,还与入射光的强度有关 B、用同种频率的光照射某种金属表面发生光电效应时,光的强度越大,饱和光电流越小 C、戴维森和G·P·汤姆孙分别用单晶和多晶晶体做了电子束衍射实验,证明了电子的粒子性 D、德布罗意提出物质波的观念被实验证实,表明电子、质子、原子等粒子不但具有粒子的性质而且具有波动的性质
-
16、如图甲所示,真空中有一长为 , 间距为d的两平行金属板MN、PQ。平行金属板右侧安装一接地金属球,金属球球心位于平行金属板中轴线上,半径。在平行金属板中轴线的左端点有一可随时间连续均匀向右释放带正电的粒子源,粒子出平行金属板后进入垂直纸面向里的匀强磁场。已知粒子质量为m,电荷量为q,初速度为(大小未知),且长度为3d。现将平行金属板连接电压的恒定电压,同时在板间施加一垂直纸面向里的匀强磁场,磁感应强度大小为 , 此时粒子匀速通过平行金属板且恰好没打到金属球上。不考虑出射粒子间的相互作用及粒子的重力,题中d、m、q、为已知量。
(1)、求的大小;(2)、求的大小;(3)、将平行金属板间的匀强磁场撤去,同时连接如图乙所示的交变电压,周期。调整的大小,经过足够长的时间后,一个周期内射出的粒子恰好有打在金属球上,求:①平行金属板右侧NQ有粒子射出的长度s;
②的取值范围。
-
17、某兴趣小组研究某款电动小车的启动与制动过程,电动小车结构图如图甲所示。图中用长为d的绝缘材料固定的两根导体棒ab、ce形成“工形”结构,固定于小车底部,两导体棒长度均为。图乙为原理图,匝数为50匝的金属圆形线圈水平放置,圆半径为 , 总电阻为 , 线圈内存在竖直向上的匀强磁场,磁场的磁感应强度B随时间t的变化关系为。线圈与水平放置的平行导轨相连,导轨电阻不计且足够长,两导轨间距 , 在平行导轨区域加一竖直向下的匀强磁场,磁感应强度 , 导体棒ab、ce与导轨垂直并接触良好。已知电动小车总质量 , ab、ce两根导体棒的电阻均为 , 该电动小车在导轨上运动时所受阻力满足 , v为小车运行的速率。
(1)、求闭合开关S瞬间流过ab棒的电流大小和方向;(2)、求闭合开关S瞬间小车所受安培力的大小;(3)、该小车能达到的最大速度;(4)、当小车以最大速度运行时,某时刻断开开关S,并将平行导轨区域的磁场立即改为如图丙所示的磁场,导轨间变为竖直(垂直纸面)方向等间距的匀强磁场区域,区域宽度均为d,磁感应强度为 , 方向相反,求小车减速过程中产生的焦耳热Q。 -
18、某装置分两部分:第一部分由弹簧、水平直轨道AE、半径为的圆轨道。组成(相互错开),其中AB光滑,长为 , 动摩擦因数为;第二部分由一特殊磁性材料制成的足够长的光滑水平轨道和一特殊的半“U”型滑板GHNM组成,其中GE的竖直高度差 , 光滑圆弧GH角度为 , 半径 , HN长 , 被接触开关K(宽度不计)均匀分为左右两侧,左边动摩擦因数为 , 右边光滑,挡板MN固连在滑板上。该装置的有趣之处是物块每经过接触开关K都会使其切换“开”或“关”的状态,若开关为“关”时滑板与轨道E'F无作用,物块与特殊挡板MN相碰均会以原速率的0.5倍弹回,若开关为“开”时,磁性轨道会作用于滑板使其立即静止,初始时开关处于“开”状态。现有一质量的物块由弹簧弹出后,恰好过圆弧轨道的最高点C,求:
(1)、物块到达D点时,轨道对物块的支持力大小;(2)、调整弹簧的弹性势能,使物块恰好沿切线进入GH轨道,求弹簧的弹性势能;(3)、物块最终静止的位置与H点的距离。 -
19、图甲彩虹滑道是年轻人喜爱的项目,现将其简化为图乙所示。长为的水平直道AB和足够长的倾斜直道BC平滑连接,倾斜直道BC与水平地面的夹角为。游客可以乘坐滑垫从最高的C处向下滑动,也可以从直道AB出发由同伴推着滑行,其中滑垫与水平直道和倾斜直道的动摩擦因数均为。周末小杨在郊区体验了该项目,小杨与滑垫(整体可视为质点,下文简称小杨)的总质量为 , 时刻,小杨从C处静止滑下,不计空气阻力,重力加速度g取 , ( , )
(1)、求小杨在倾斜直道BC下滑过程中的加速度的大小;(2)、现小杨静止在A处,多位同伴以恒力推动他向B处滑行,当推至距B为处松手,求小杨滑到B处的速度大小;(3)、在第(2)题的基础上,求小杨在斜面上滑动的总时间t。(结果可保留根号) -
20、以下实验中,说法正确的是( )A、“观察电容器的充、放电现象”实验中,充电时电流逐渐减小,放电时电流逐渐增大 B、“探究平抛运动的特点”实验中,需用重锤线来调整轨道末端的水平 C、“探究影响感应电流方向的因素”实验中,需先知晓线圈的绕向 D、“探究变压器原、副线圈电压与匝数的关系”实验中,如果可拆变压器的“横梁”铁芯没装上,原线圈接入10V的交流电时,副线圈输出电压不为零