相关试卷
-
1、图甲所示的物体A的长度为cm,图乙是实验室使用温度计测量水的温度,操作中正确的是(选填“A”、“B”、“C”或“D”)。

-
2、如图甲所示是A、B两种液体的质量m与体积V关系的图象,下列分析正确的是( )
A、液体B的密度大于A的密度 B、若A、B两种液体体积相同,则mA=2mB C、液体A的质量随体积的增大而增大 D、若乙图中小瓶的容积为200mL,将小瓶装满液体A时总质量为840g,则装满B后总质量为440g -
3、如图是对冰加热过程中其温度随时间变化的图像,分析图像可知( )
A、BC段是一个放热过程 B、冰的熔点是0℃ C、CD段该物质处于液态 D、DE段表示冰的熔化过程 -
4、下列估测符合生活实际的是( )A、课桌的高度约为80dm B、中学生手指甲宽度约为1cm C、人脉搏1s跳动约70次 D、冬季教室的温度约为42℃
-
5、如图所示,小明用放大镜看到邮票上的熊猫图案被放大。下列说法正确的是( )
A、放大镜实际是凹透镜 B、通过放大镜看到的是图案的虚像 C、邮票位于放大镜的两倍焦距外 D、将放大镜稍靠近邮票,看到的图案会更大 -
6、平面镜的使用历史悠久,现代生活中我们都离不开镜子,如图所示为演员对着镜子画脸谱的情景。脸谱在镜子中的像是( )
A、光的直线传播形成的虚像 B、光的反射形成的虚像 C、光的直线传播形成的实像 D、光的反射形成的实像 -
7、下列关于光的说法中正确的是( )A、光在真空中的传播速度为 B、立竿见影中的“影”中属于光的反射现象 C、光在同种介质中沿直线传播 D、小孔成像的原理是光的直线传播
-
8、反映某物体运动状态的s-t图像如图所示,若使用v-t图像表示该运动状态,正确的为( )
A、
B、
C、
D、
-
9、小安家电烤箱的额定电压为220V,其简化电路如图甲所示。发热电阻、的阻值不随温度变化,操作开关、、的通断(开关、不会同时闭合),可实现高温、中温、低温三个挡位调节,只闭合开关时为中温挡,额定功率为440W。若。求:
(1)、电烤箱在中温挡正常工作时,电路中的电流;(2)、某天用电高峰,小安关闭其他用电器,只让电烤箱在高温挡工作,发现电能表(如图乙)指示灯30s内闪烁了12次,则电烤箱高温挡工作的实际功率是多少;(3)、若该电烤箱在高温挡正常工作1min,则电路消耗的电能是多少。 -
10、某款电热水壶自重5N,与桌面的接触面积为200cm2现往该水壶内装入质量为1kg、初温为20℃的水,并放置在水平桌面上,接通电源使其正常工作,在1个标准大气压下将水烧开。g取10N/kg,c水=4.2×103J/(kg•℃)。求:
(1)装入水后水壶的重力;
(2)装入水后水壶对桌面的压强;
(3)水吸收的热量。
-
11、如图所示,水平地面上有一底面积为的圆柱形容器。容器中水深40cm,一个棱长为10cm的正方体物块通过一根细线与容器底部相连,细线受到的拉力为4N。求:()
(1)、此时物块受到的浮力;(2)、细线剪断后,物块静止时浸入水中的体积;(3)、细线剪断后,液面下降了多少? -
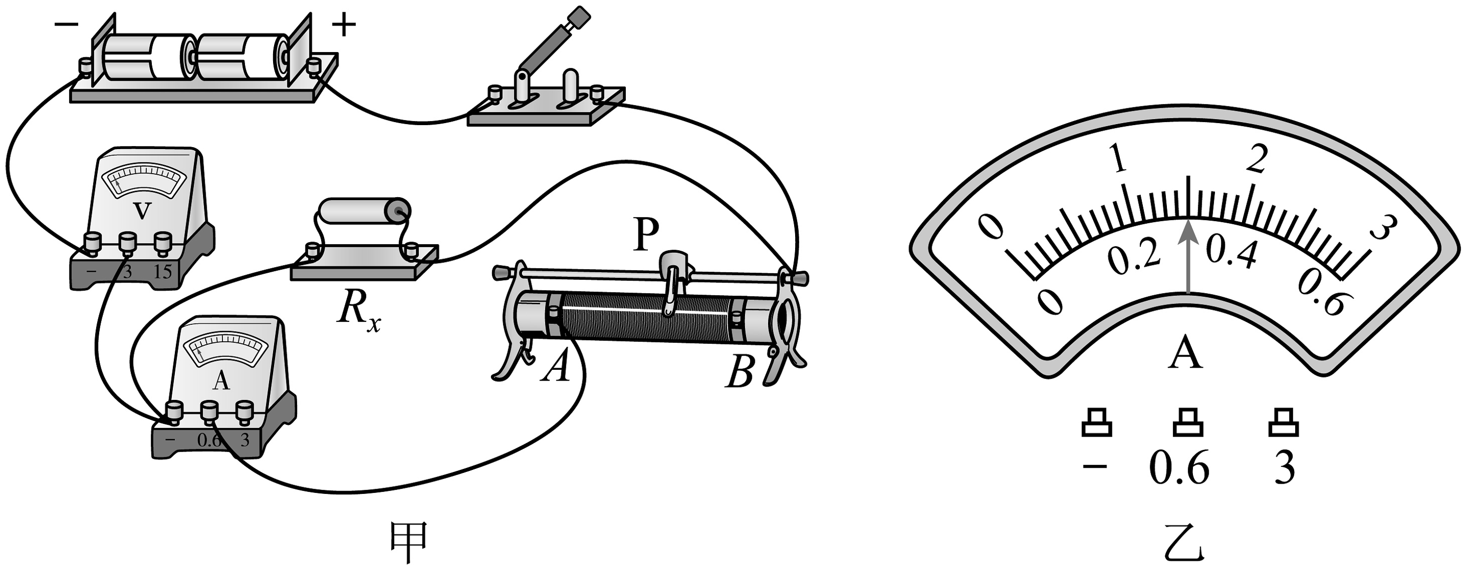
12、如图甲是“探究冰的熔化特点”实验的装置示意图。
(1)、实验时应该选择颗粒的冰块进行实验,烧杯中的水面应试管中的冰面;(2)、小明根据实验数据作出冰加热时温度随时间变化的图像如图乙所示,分析图像可知,冰是 , 这样判断的依据是;熔化前后图线的倾斜程度不同,原因是冰和水的不同;(3)、若冰全部熔化成水后继续用酒精灯不断地加热,试管中的水最终沸腾。 -
13、按照要求完成下列作图。
(1)、如图甲所示,重为10N的小球漂浮在水面上,画出小球所受重力的示意图。(2)、请你用笔画线代替导线,将图乙所示的电灯、开关接入家庭电路中。 -
14、电磁波在真空中的传播速度为m/s。电磁波的家族成员很多,有无线电波、红外线、可见光、紫外线、X射线等,它们与人们的生活息息相关。电视机遥控器是利用来工作的。
-
15、某通电螺线管的磁感线方向如图所示,则图中电源的左端为极。

-
16、如图所示,A装置是滑轮;若人用力F匀速提起重为10牛的物体时,物体的重力势能 , 不计摩擦和滑轮重力,F的大小为牛。

-
17、由于1枚大头针的质量小于称量标尺的分度值,慧慧用天平称量50枚大头针的总质量,所用砝码的质量与游码的位置如图所示,则1枚大头针的质量是g。

-
18、人们很难听到跑步时胳膊摆动发出的声音,这是因为胳膊甩动的频率太 , 属于。
-
19、下列有关电和磁的知识中,说法正确的是( )A、电动机工作时将机械能转化为电能 B、同种电荷相互排斥,异种电荷相互吸引 C、通电导体的周围真实存在磁感线 D、摩擦起电创造了电荷
-
20、如图所示电路,电源电压为9V且保持不变,R1=60Ω,滑动变阻器R2的规格为“”,电流表的量程为“0~0.6A”,小灯泡上标有“”字样,若不考虑灯丝电阻变化,并保证电路各元件安全。下列说法正确的是( )
A、当S1、S2都断开,滑动变阻器的阻值变化范围为3Ω~60Ω B、当S1、S2都断开,小灯泡两端电压变化范围为3V~6V C、当S1、S2都闭合,电流表的示数变化范围为0.15A~0.6A D、当S1、S2都闭合,电路的总功率变化范围为2.7W~5.4W