相关试卷
-
1、地震预警系统可以监测地震产生的地震波,并向广大民众发出了预警信息,如图。地震预警系统监测到的地震波是( )
A、超声波 B、次声波 C、电磁波 D、引力波 -
2、某物体做匀速直线运动,由速度公式可知物体的( )A、速度与路程成正比 B、速度大小恒定不变 C、速度与时间成反比 D、以上说法都不对
-
3、“朝辞白帝彩云间,千里江陵一日还。两岸猿声啼不住,轻舟已过万重山。”李白这首脍炙人口的七言绝句,描绘了一幅阐述运动相对性的完美画卷,如图所示。从物理学的角度看,我们若说舟中人是静止的,所选的参照物是( )
A、白帝城 B、江岸 C、轻舟 D、青山 -
4、下列现象中属于机械运动的是( )A、流星划过夜空 B、冰熔化成水 C、菜价上涨了 D、颜色变化了
-
5、如图所示是“研究影响滑动摩擦力大小因素”的实验装置。
(1)、如图甲、乙、丙所示三种情况下,木板和毛巾保持不动,物块在弹簧测力计拉力作用下均做直线运动。则物块所受滑动摩擦力的大小(填“大于”“等于”或“小于”)弹簧测力计的示数;(2)、比较甲、乙实验,是为了研究滑动摩擦力大小与的关系;比较乙、丙实验是为了研究滑动摩擦力大小与的关系(均选填“压力”或“接触面的粗糙程度”);(3)、小萌同学对实验装置进行改进,如图丁所示,用力拉动长木板向左运动,物块保持静止时弹簧测力计的示数(填“大于”“等于”或“小于”)物块所受滑动摩擦力的大小。改进后的实验中小萌同学(填“需要”或“不需要”)匀速拉动长木板。 -
6、如图所示,东湖绿道是一个不错的跑步场所,跑步者在跑步过程中,发现道路两旁的树木在向后运动,他所选的参照物是(选填“跑步者自己”或“地面”),由图信息可知,此跑步者的步幅(每步距离)m(结果保留一位小数);跑步者某次在前50m用时6s,刚跑完前50m摔倒了再爬起来用时3s,接着跑完后50m用时7s,则全程的平均速度是m/s。

-
7、物理研究中常常用到一些研究方法,下面是初中物理中的几个研究实例,其中采用了相同研究方法的是( )
①研究真空能否传声
②利用光线来表示光的径迹和方向
③在探究磁场时,引入磁感线来形象描述磁场的方向与强弱
④研究电流时,把电流比作水流
A、①② B、②③ C、③④ D、①④ -
8、阅读短文,回答问题。
“面密度”与“线密度”
在出版行业,国家标准规定以A0、A1、A2、B1、B2等标记来表示纸张面积大小规格,用“克重”来表示纸张的厚薄规格。这种表示纸张厚薄的方法与密度知识是相关的:由于纸张的厚薄是均匀的,所以我们无需测算其单位体积的质量,只需知道它单位面积的质量即可。纸张的“克重”即单位面积纸张的质量,也叫做纸张的“面密度”。“面密度”越大的纸张越厚。同样,对粗细均匀的线形材料,我们将其单位长度的质量叫做物质的“线密度”。
(1)、将A1纸沿长边对折后裁开可得到两张A2纸。同种材质做成的等厚纸张,一张A1纸的质量与一张A2纸的质量之比为2∶1,该A1纸的“面密度”与A2纸的“面密度”之比为;(2)、某些图书所用的纸张“克重”为70,下列选项中,其“面密度”表达正确的是________;A、70g/m B、70g/m2 C、70g/m3 D、70g·m3(3)、对粗细均匀的某线形材料,若用ρ表示其“线密度”,用m表示其质量,用L表示其长度,则该材料的“线密度”的数学表达式为;(4)、有捆横截面积为5×10-6m2的铜丝,质量为8.9kg,则该铜丝的“线密度”为g/m(已知铜的密度为8.9×103kg/m3);(5)、一包某品牌的A4纸共500张,小明用刻度尺测出这包纸的厚度为50.0mm,如果该纸的密度为0.8×103kg/m3 , 则这种纸的“面密度”是。 -
9、小明在体检时站在磅秤上,秤的读数是60kg,如果他到月球上,月球上物体的重力只有地球的 , 则月球上小明的质量为 , 重力约为N。
-
10、两个相同的容器分别装有质量相同的甲、乙两种液体。用同一热源分别加热,液体温度与加热时间关系如图所示。下列说法正确的是 ( )
A、甲液体的比热容大于乙液体的比热容 B、加热相同的时间,甲液体吸收的热量大于乙液体吸收的热量 C、质量相同的甲乙液体,升高相同温度,乙液体吸收热量少 D、质量相同的甲乙液体,加热相同的时间, 甲液体比乙液体温度升高得多 -
11、一台汽油机飞轮的转速为3000转/min,则在1s内,汽油机对外做功的次数是。该汽油机某次工作时的热损失情况是:气缸散热损失25%,废气带走35%,机械摩擦损耗10%,则该汽油机的效率为%。
-
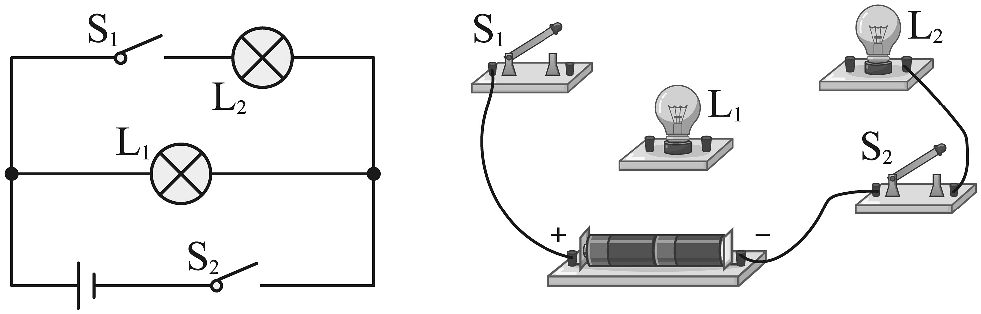
12、将两只灯泡分别接在甲、乙两个电路中,以下实验现象不可能的是( )
A、在甲电路中,当L1和L2都发光时,取下L1后,L2会熄灭 B、在甲电路中用导线连接L1的两个接线柱,接通电路后,L1不发光L2发光 C、在乙电路中,当L1和L2都发光时,取下L1后,L2不会熄灭 D、在乙电路中用导线连接L1的两个接线柱,接通电路后,L1不发光L2发光 -
13、小明学习了简单机械的知识后,知道了使用斜面抬高物体时能帮我们省力,还了解到斜面的倾斜程度会影响到省力的情况。小明猜想:斜面的倾斜程度越小,抬高物体时越省力。请你帮小明设计实验来验证这个猜想。
实验次数
①
木块重力G/N
②
1
2
3
(1)、除了如图所示的器材以外,还必须用到的测量工具是;(2)、请写出实验的操作步骤;(3)、实验中记录数据的表格如上,其中①②应分别填写①、②;(4)、出现什么数据时能证明小明的猜想是正确的? -
14、实验小组在探究弹簧伸长量(x)与弹簧受到拉力(F)关系的实验中,得到如图甲所示的F-x关系图像(图线记为a)。
(1)、分析图甲的数据,得到实验结论:常量(设为k),则这根弹簧的k值为N/cm。(2)、把这根弹簧截去一部分,剩余部分弹簧的是否会发生变化?实验小组的同学对此产生了兴趣并提出了各自的猜想:甲同学:因为是同一根弹簧,所以不变;
乙同学:因为弹簧变短了,所以变小;
丙同学:因为弹簧变短了,所以变大;
为验证猜想,他们对剩余部分弹簧进行如下探究:
①把弹簧悬挂在竖直的刻度尺旁,静止时如图乙,则此时弹簧长度为cm;
②在弹簧下端挂上钩码,某次弹簧静止时如图丙所示,每个钩码的重力为0.5N,则弹簧下端受到钩码的拉力F=N,此时弹簧的伸长量x=cm;
③多次改变悬挂钩码的数量,实验数据记录如下表;
弹簧受到的拉力F/N
0
1.0
2.0
3.0
4.0
5.0
弹簧的伸长量x/cm
0
1.00
2.00
3.00
4.00
5.00
④根据表中的数据,请在甲图中描点,并画出F-x图像(对应图线记为b);
⑤比较图线a、b,可以判断(填“甲”“乙”或“丙”)同学的猜想是正确的。
-
15、如图所示,一箱饮料放在水平地面上,其包装箱上标识的相关名词含义如下:“毛重”指包装箱及其内部饮料的总质量;“净重”指包装箱内饮料的总质量;“体积”指包装箱的“长度×宽度×高度”。包装箱底部能承受的最大压强为 , g取。
(1)、包装箱摆放时要求内部饮料瓶的瓶口向上,这是因为饮料瓶倒放时对包装箱底部的较大,搬运时容易导致包装箱破损;(2)、求这箱饮料对地面的压力;(3)、求这箱饮料对地面的压强;(4)、①求包装箱底部能承受的最大压力;②这种包装箱叠放时,最多能叠放箱。
-
16、某小球被水平抛出,其部分运动轨迹如图所示。小球在运动过程中经过M、N两点(图中未标出)时的动能和重力势能的参数如下表所示。
位置
重力势能/J
动能/J
M点
240
80
N点
300
200
(1)、通过数据分析可得,小球在M点时的机械能为J;在整个运动过程中,小球的机械能(选填“守恒”或“不守恒”)。(2)、已知M、N可能是①、②、③中的某点,其中位置①和③离地高度相等,则M点的位置最有可能在位置 , N点的位置最有可能在位置。(均选填“①”“②”或“③”) -
17、在粗糙程度相同的水平桌面上,物体在水平向右的拉力的作用下做直线运动,如图甲所示。物体运动速度与时间的关系如图乙所示,运动过程中拉力与时间的关系如图丙所示(内的图线未画出)。
(1)、内,物体所受的摩擦力大小为 , 方向是 , 与内物体所受的摩擦力大小(选填“相等”或“不相等”)。(2)、内拉力的大小为。(3)、若拉力在内和内做功的功率分别为、 , 则(选填“”“”或“”)。 -
18、如图甲所示,在杠杆的点挂一物体 , 在点施加一斜向上的拉力 , 使杠杆在水平位置保持静止,为支点。已知 , , , 忽略杠杆和绳子的重力及转轴间的摩擦。
(1)、请在图甲中画出拉力的力臂。(2)、此时(选填“”“”或“”),你的依据是。(3)、撤去拉力 , 请在图乙中画出能使杠杆保持水平静止的最小力。 -
19、小明用细线将乒乓球悬挂起来,并用球拍来做实验。
(1)、分别轻击和重击乒乓球,乒乓球弹开的幅度如图甲、乙所示,这说明:①力可以改变物体的;②力的作用效果与力的有关。(2)、请在图乙中画出乒乓球到达最高点时所受重力的示意图。(3)、将乒乓球击向墙壁,乒乓球的运动轨迹如图丙所示。乒乓球撞击墙壁的瞬间,墙壁对乒乓球(选填“有”或“没有”)作用力。 -
20、如图为蹦床运动照片及其简化示意图,点是运动员由最高点开始自由下落的起始位置,点是蹦床不发生形变时的位置,点是运动员受到的重力与蹦床对运动员的弹力相等的位置,点是运动员到达的最低位置。若忽略空气阻力,则( )
A、在点时,运动员受力平衡 B、从点到点的过程中,运动员的重力势能一直减小 C、从点到点的过程中,蹦床的弹性势能一直减小 D、从点到点的过程中,在点处运动员的动能最大