版本:
相关试卷
- 浙江省宁波市北仑区2017-2018学年九年级上学期科学期末考试试卷
- 浙江省宁波市江北区2017-2018学年九年级上学期科学期末考试试卷
- 浙江省宁波市鄞州区九校2017-2018学年八年级上学期科学期末考试试卷
- 浙江省宁波市东钱湖九校2017-2018学年七年级上学期科学期中联考试卷
- 浙江省宁波市海曙区2017-2018学年九年级上学期科学期中统考试卷
- 浙江省宁波鄞州区九校2017-2018学年九年级上学期科学月考试卷
- 浙江省宁波鄞州区九校2017-2018学年七年级上学期科学第一次月考试卷
- 浙江省宁波鄞州区九校2017-2018学年八年级上学期科学第一次月考试卷
- 2017-2018学年华师大版八年级上学期科学期中模拟试卷
- 2017-2018学年华师大版九年级上学期科学期中模拟试卷
-
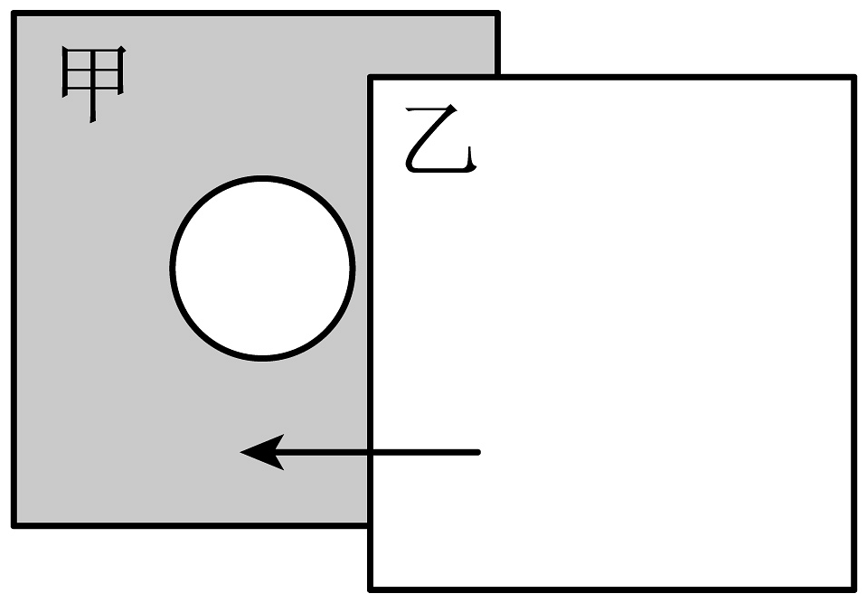
1、金属与盐溶液发生反应时一般会引起溶液密度变化,科学兴趣小组决定设计实验来验证铜块与硝酸银溶液反应时密度变化情况。如图1甲所示,弹簧测力计下方挂--银块A,烧杯中盛有硝酸银溶液B,杯底放入一铜块C(实验中溶液体积变化忽略不计)。


请回答:
(1)、写出铜和硝酸银溶液反应的化学方程式。(2)、该实验设计原理是:当溶液密度发生变化时,发生变化,从而引起弹簧测力计示数的变化。(3)、小组同学将反应过程中弹簧测力计的示数变化描绘成图2所示,其中正确的是(填字母编号)。(4)、小科同学认为该实验方案可以简化,在弹簧测力计下方直接挂一铜块C,放入盛有硝酸银溶液B的烧杯中(如图1乙所示),观察弹簧测力计的示数变化就可知道溶液的密度变化。你认为小科的设计是否合理,并说明理由:。 -
2、为实现氢氧化钠溶液和盐酸反应现象的可视化,某兴趣小组设计如下实验:(1)、【监测温度】

在稀氢氧化钠溶液和稀盐酸反应过程中,温度传感器监测到溶液温度升高,说明该反应(填“吸热”或“放热”)。此反应的微观实质是。
(2)、【观察颜色】在试管中加入2mL 某浓度的氢氧化钠溶液,滴入2滴酚酞溶液作指示剂,再逐滴加入盐酸,振荡,该过程中: .和pH 记录如图所示。在①中未观察到预期的红色,为探明原因,小组同学查阅到酚酞变色范围如下:0<pH<8.2时呈无色,8.2<pH<13时呈红色,pH>13时呈无色。据此推断,①中a的取值范围是____(填字母)。
A、0<a<8.2 B、8.2<a<13 C、a>13(3)、一段时间后,重复(2)实验,观察到滴加盐酸的过程中有少量气泡生成,原因是。 -
3、小明设计实验来探究“一定质量的某种金属和同体积盐酸反应快慢的影响因素”。测得实验数据如下:某金属与同体积盐酸溶液反应实验数据
盐酸溶液浓度
5%
10%
15%
5%
10%
15%
反应开始时酸溶液的温度(℃)
20
20
20
35
35
35
反应开始到2分钟产生的气体体积(mL)
10
19
28
28
72
103
反应结束共产生气体体积(mL)
60
118
175
60
118
175
(1)、分析实验数据得出:一定质量的某种金属和同体积盐酸反应,影响金属和酸反应快慢的主要因素、。(2)、实验通过比较数据来确定金属和酸反应的快慢。(3)、过量锌粒加入盐酸中,反应开始的一段时间,反应速率逐渐加快,而不是逐渐减慢。可能的原因是。 -
4、为测定石灰石样品中碳酸钙含量,小科同学在一定量的样品中加入足量稀盐酸,利用生成CO2的质量来测定(忽略稀盐酸挥发的影响)。
(1)、A仪器的名称是。(2)、小科利用图中装置实验,通过测定反应前后,D装置质量的变化来得到( 质量。为了避免水蒸气对实验的影响,使测量结果更准确,装置C中应装入(填试剂名称)。(3)、实验前小科要打开止水夹通一会儿N2 , 主要目的。(4)、如果去掉装置E,可能导致实验结果(选填“偏大”、“偏小”或“不变”) -
5、在学习碱能和盐反应时,小科用( 和 进行实验,充分反应后过滤,并对滤液的成分进行探究。【作出猜想】猜想1: NaOH。 猜想2: NaOH 和 猜想3: NaOH 和
【实验设计及结果】实验组别
1
2
3
实验方案
滴加少量的稀盐酸
滴加少量的氯化钡溶液
滴加少量的碳酸钠溶液
实验现象
无明显现象
无明显现象
出现白色沉淀
实验结论
溶液中一定没有
溶液中一定没有
溶液中一定有(
(1)、【得出结论】以上猜想正确的是(填序号)。(2)、【评价反思】小科同学认为上述实验1错误,请说明理由:。 -
6、小金测得生活中一些液体的pH如下表:
液体
雨水
食盐水
厨房清洁剂
洁厕灵
pH
5.6
7
11.8
2
(1)、上述液体中,呈中性的是(写名称,下同),能使酚酞试液变成红色的是;(2)、正常雨水的pH约为5.6的原因是(用化学方程式表示)(3)、用pH试纸测定洁厕灵的pH时,先将pH试纸用水润湿,结果会(选填“偏大”、“偏小”“无影响”)。 -
7、如图是某两种物质在催化剂的作用下发生反应的微观示意图。
(1)、请据图写出反应的化学方程式。(2)、请分析判断以上化学反应的类型,选择正确答案____。A、属于置换反应 B、属于复分解反应 C、不属于化学反应基本类型 -
8、小艺同学在学习稀盐酸的化学性质时,归纳出了稀盐酸与其他物质间相互反应的关系图,如图甲。请根据图示回答有关问题。
(1)、小艺归纳的关系图中有一处性质归纳错误,请指出其序号。(2)、小艺将关系图修正后,进行了图乙实验验证稀盐酸的化学性质。该实验能够体现出学性质有(填序号)。(3)、下列物质能够验证稀盐酸的化学性质⑤的是( )。A、CO2 B、 C、NaCl -
9、盐酸是一种重要的化工原料,也是实验室中重要的化学试剂,初中化学中许多实验都用到了盐酸。
(1)、下列实验一定不会用到盐酸的是____(填序号)。A、除去熟石灰中的石灰石 B、 鉴别氯化钠和碳酸钠 C、实验室制取二氧化碳 D、除去铁钉上的锈迹(2)、用盐酸按照下图的方式进行中和反应实验。向烧杯中逐滴滴入盐酸至过量的过程中,能够说明盐酸与氢氧化钠发生了化学反应的实验现象是。以下证明盐酸过量的操作及实验现象的叙述正确的是(填序号)。
A. 滴加石蕊溶液,搅拌后溶液变蓝
B. 另滴加氢氧化钠溶液,搅拌后溶液颜色不变
C. 加入蒸馏水,搅拌后溶液颜色不变
D. 加入金属 Cu片,产生气泡 -
10、小塘分别向不同试剂中滴加了2滴自制紫薯汁,记录实验现象如表.请回答:
试剂
稀盐酸
氢氧化钠溶液
蒸馏水
白醋
草木灰溶液
现象
红色
绿色
紫色
红色
绿色
(1)、在石灰水中滴加紫薯汁,溶液可能显示的颜色是;(2)、用pH试纸测定上述部分溶液的酸碱度,具体操作方法是用 , 滴在pH 试纸上,待显色后与标准比色卡对照;(3)、若用pH试纸测定草木灰溶液时,不慎将pH试纸用蒸馏水浸湿了,则测得的pH值应比真实值(填“偏大”、“偏小”或“无影响”)。 -
11、第19届亚运会于2023年9月23日至10月8日在杭州市举行。本届亚运,杭州又交出了一份完美的“零碳”答卷。杭州亚运会火炬取名为“薪火”,所用燃料为甲醇。火炬燃料随着时代发展在不断变迁,图甲为部分大型运动会火炬燃料的变迁示意图。

(1)、天然气的主要成分是甲烷,它是(填“有机物”或“无机物”);(2)、北京奥运会火炬燃料为丙烷(C3H8),具有可燃性.请写出丙烷在空气中完全燃烧的化学方程式;(3)、本次亚运会采用先进技术将甲醇燃料产生的二氧化碳重新转化为甲醇,实现了碳的“零排放 .图乙为该转化过程的微观示意图,写出甲醇的化学式:。 -
12、实验室许多药品都需密封保存,下列对药品密封保存原因的解释,错误的是( )A、浓盐酸——防止挥发 B、NaOH 溶液————防止与CO2反应 C、浓硫酸——防止吸水 D、生石灰——防止与氧气反应
-
13、图像是一种表示方法,也是了解化学反应的“窗口”,我们可通过建立图像来表示化学反应过程中物质间量的相互关系。现向装有一定质量 AgNO3和 Cu(NO3)2混合溶液的烧杯中加入铁粉至过量,溶液总质量随加入铁粉质量的变化如图所示。下列分析正确的是( )
A、AB 段烧杯中溶液由无色变为浅绿色 B、B点时向烧杯中滴加稀盐酸无现象 C、C 点时烧杯中的固体只有单质 Ag D、D点对应溶液的溶质为Fẹ(NO3)2、 Cu(NO3)2 -
14、2023年世界环境日的主题为“减塑捡塑”,倡导减少使用、回收利用塑料制品。下列关于塑料制品的描述不正确的是 ( )A、空矿泉水瓶属于可回收垃圾 B、空矿泉水瓶的材料属于有机合成材料 C、塑料袋可以用燃烧的方式处理,以减少白色污染 D、制作塑料袋的聚乙烯(C2H4)n是一种有机物
-
15、服用药物“洛哌丁胺胶囊”可以缓解感染诺如病毒造成的腹泻等肠胃不适症状。其主要成分洛哌丁胺的分子式为C20H33ClN2O2。从物质分类角度分析,洛哌丁胺属于( )A、氧化物 B、盐 C、有机物 D、混合物
-
16、王爷爷家种的玉米,叶子发黄,易倒伏。王爷爷应该买以下( )化肥改善玉米生长情况A、CO(NH2)2 B、K2CO3 C、KH2PO4 D、KNO3
-
17、某同学对杉叶藻很感兴趣,开展“制作杉叶藻细胞模型”实践活动,活动包括观察细胞结构、制作细胞模型、评价模型作品三个环节。
(1)、【观察】为使图丙中的视野B转变为视野 C,应先向左移动玻片标本,将要观察的细胞移动到视野中央,然后转动图乙中的(填序号),换用高倍物镜。(2)、【制作】该同学利用各种颜色的橡皮泥制作出植物细胞模型(图丁)。指出该模型存在的错误。(3)、【评价和改进】制作细胞膜时,还有两种材料可供选择,一种是透明塑料薄膜,另一种是网眼很小的细纱网。你会选择哪种材料进行改进?并简要说明理由 -
18、下面这段文字节选自备迅先生的《从百草园到三味书履》,阅读后回答问题:
不必说碧绿的菜畦,光滑的石井栏,高大的皂荚树,紫红的桑葚;也不必说鸣蝉在树叶里长吟,肥胖的黄蜂伏在菜花上,轻捷的叫天子(云雀)忽然从草间直窜向云霄里去了。单是周围的短短的泥墟根一带,就有无限趣味。油蛉在这里低唱,蟋蟀们在这里弹琴。
(1)、请列举出文中所描述的生物名:(至少写3种)。(2)、下列不属于蝉、云雀的基本特征的是____。A、自己制造有机物 B、呼吸 C、生长和繁殖 D、排出废物(3)、我们在观察蟋蟀的形态特征时,为达到实验目的,最适合的观察工具是____.A、显微镜 B、望远镜 C、放大镜 D、天文组远镜 -
19、生物学上常使用检索表来鉴定生物的种类,最常用的是二歧分类检索表。
(1)、上表是根据图中水雉、鱼、蜜蜂、龟四种动物编制的二歧分类检索表,表中“*****”处内容是。其中D代表的动物是。(2)、最近,我市海宁的刘浩宇同学在国际动物学学术期刊《ZooKeys》上发表了一篇论文,介绍了由他发现的“海宁卵角蚁”。“海宁卵角蚁”的体表有外骨骼,身体分头、胸、腹三部分,由此推测,它属于动物。分类时,“海宁卵角蚁”位于上述二歧分类检索表中(选填字母)。 -
20、小金为了研究水的一些特性,做了如下的实验:量取80mL热水倒入烧杯中,让岩水自然冷却,并利用温度计和计时器测量水温随时间的变化情况,记录数据如表所示。
时间/ min
0
2
4
6
8
10
12
14
16
水温/℃
40
33
28
25
24
24
24
24
(1)、量取80mL 的水应选择量筒的最大测量值是( )(填字母)。A、250mL B、200mL C、100mL D、50mL(2)、这些水冷却到室温所需时间( )(多选,填字母)。A、一定是 10min B、可能是8 min C、可能是9min D、可能是.10 min(3)、如果要根据表格中的数据绘制一张水温随时间变化的图像。你认为下列图中,能正确反映实验过程的是 ( )(填字母)。
(4)、小金在用温度计测量液体的温度时步骤如下,合理的顺序是(填序号)。①在温度计的液面不再升高时读取示数
②选取适当的温度计
③让温度计的液泡与被测液体充分接触几分钟
④估计液体的温度